Curiosii for ever!: Car repair manuals for everyone.

Receiver Dryer: Service and Repair

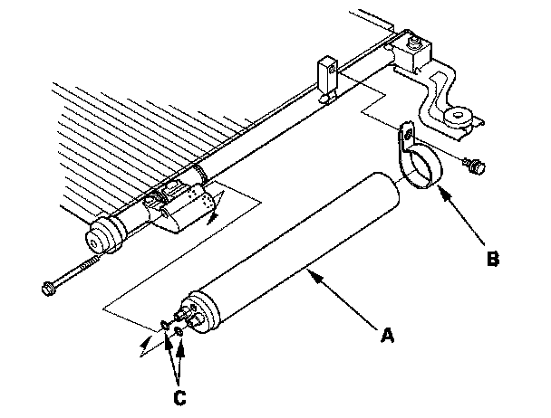
Receiver/Dryer Desiccant Replacement

1. Remove the A/C condenser.




2. Remove the bolts from the A/C condenser, then remove the receiver/dryer (A), the bracket (B) and the O-rings (C).
3. Install the receiver/dryer in the reverse order of removal, and note these items:

Replace the O-rings with new ones, and apply a thin coat of refrigerant oil (DENS0 ND-OIL 8) before installing them. Be sure to use the correct O-rings for HFC-134a (R-134a) to avoid leakage.