Differential Reassembly
Differential ReassemblySpecial Tools Required
^ Oil sea[ driver 07JAD-PL901 00
^ Holder handle 07JAB-00 1 020A
^ Attachment, 40 x 50 mm I.D. 07LAD-PW50601
^ Attachment, 45 x 55 mm I.D. 07MAD-PR90100
^ Attachment, 78 x 80 mm 07NAD-PX40100
^ Companion flange holder 07RAB-TB4010B
^ Universal holder 07725-0030000
^ Driver, 40 mm I.D. 07746-0030100
^ Attachment, 30 mm I.D. 07746-0030300
^ Driver 07749-0010000
1. Apply Hondalock 1 (P/N 08713-0001) to the surface of the ring gear and ten mounting bolts.
2. Install the ring gear, then tighten the ten mounting bolts in a crisscross pattern in several steps.
3. Install the tapered roller bearing using the special tools and a press as shown.
4. Install the standard thrust washer 3.47 mm (0.1366 inch) (A) onto the drive pinion (B). Then install the tapered roller bearing (C) using the old pinion spacer (D) and special tools as shown.
5. Install the bearing outer races (A) into the differential carrier using the special tools as shown.
6. Apply the recommended fluid to the tapered roller bearing, then install the drive pinion and new pinion spacer into the differential carrier.
7. Apply the recommended fluid to the tapered roller bearing, then install the tapered roller bearing and spacer (A) using the special tools while holding the drive pinion (B).
8. Install the oil seal using the companion flange and special tool as shown.
9. Apply molybdenum grease to the surface end of the companion flange, then install the companion flange, drive pinion washer, and locknut.
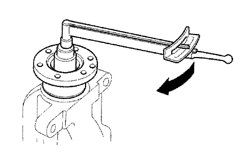
10. Install special tools to the companion flange, then tighten to 20 Nm (2.0 kgf-m, 14 ft. lbs.).
11. Rotate the drive pinion several times to ensure proper tapered roller bearing contact. Measure the drive pinion turning torque before tightening the locknut to the specified torque.
12. Tighten the locknut to 127 Nm (13.0 kgf-m. 94 ft. lbs.) then remove the special tools.
13. Rotate the drive pinion several times to assure proper tapered roller bearing contact. Measure the drive pinion turning torque.
^ If the drive pinion turning torque exceeds the standard, replace the pinion spacer.
^ If the drive pinion turning torque is less then the standard, adjust by tightening the locknut a little at a time, but keep the torque within 127 - 284 Nm (13.0 - 29.0 kgf-m, 94 - 210 ft. lbs.). If this is not possible, replace the pinion spacer.
14. Install the Torsen LSD assembly (A), bearing outer races (B), and adjustment screws (C) onto the differential carrier.
NOTE:
^ Reinstall the adjustment screws in their original position on the differential carrier.
^ Align the threads of the adjustment screws and differential carrier housing.
15. Install the bearing caps (A) while aligning both the marks (B) on the threads of the adjustment screws and bearing caps, then install the mounting bolts, finger-tight.
16. Measure the backlash of the ring gear,
^Set the dial gauge tip at a right angle to the ring gear teeth. Measure four points on the ring gear 90 degrees apart.
^Backlash will be within the standard if at one point the ring gear backlash is within the standard, minimum measurement of 0.05 mm (0.0020 inch) or above and the difference between the maximum and minimum measurements do not exceed 0.07 mm (0.0028 inch).
^Both adjustment screws must be adjusted. For example; if you turn one adjustment screw one notch clockwise, you must turn the other adjustment screw one notch counterclockwise.
17. Tighten the bearing cap mounting bolts.
18. Thoroughly clean the ring gear and drive pinion teeth, and paint the ring gear teeth with Prussian Blue lightly and evenly.
19. Rotate the pinion three full turns forward and then backward to produce a contact pattern on the ring gear. During this operation, resistance should be applied to the ring gear.
20. Check the tooth contact, and adjust it if needed.
^ Toe Contact: Use a thinner thrust washer to move the drive pinion away from the ring gear.
^ Heel Contact: Use a thicker thrust washer to move the drive pinion toward from the ring gear.
^ Flank Contact: To move the ring gear away from the drive pinion, tighten the adjustment screw on the drive pinion side and loosen the adjustment screw on the ring gear side. Recheck backlash after adjusting the adjustment screws. If out of specification, adjust as described under Toe Contact.
^ Face Contact: To move the ring gear toward the drive pinion, tighten the adjustment screw on the ring gear side, and loosen the adjustment screw on the drive pinion side. Recheck backlash after adjusting the adjustment screws. If out of specification, adjust as described under Heel Contact.
21. Rotate the Torsen LSD assembly several times to ensure proper tapered roller bearing contact. Measure the Torsen LSD assembly preload using the push/pull gauge.
^If the Torsen LSD assembly preload exceeds the standard, adjust by loosening the adjustment screws a notch at a time.
^ If the Torsen LSD assembly preload. is less than the standard, adjust by tightening the adjustment screws a notch at a time.
22. Install the lock plates (A).
23. Install the oil seal using the special tools as shown.
24. Install the breather plate (A), filler plug (B), drain plug (C), and new sealing washers.
25. Remove the dirty oil from the differential case sealing surface. Apply liquid gasket (P/N 08718 0001 or 08718-0002) to the sealing surface. Make sure you seal the entire circumference of the bolt holes to prevent oil leakage.
NOTE:
^ Do not install the components if too much time has passed after applying the liquid gasket (for P/N 08718-0002, no more than 4 minutes, for all others, no more than 5 minutes). instead, remove the old residue, and reapply the liquid gasket.
^ Allow it to cure at least 30 minutes after assembly before filling the differential with the recommended fluid.
26. Install the differential case assembly.
27. Tighten the ten mounting bolts in a crisscross pattern in several steps.
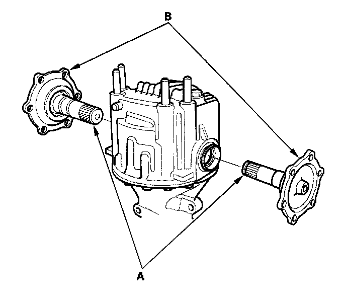
28. Install the new clips (A) on the output shafts, then install the output shafts (B).