Curiosii for ever!: Car repair manuals for everyone.

Blower Motor Relay: Testing and Inspection

Power Relay Test

Use this chart to identify the type of relay, then do the test listed for it.






NOTE: For the turn signal/hazard relay input test, refer to Turn Signal Relay.

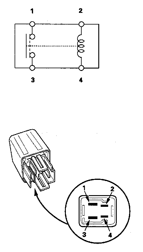
Normally-open type B




Check for continuity between the terminals.
- There should be continuity between the No. 1 and No. 3 terminals when power and ground are connected to the No. 2 and No. 4 terminals.
- There should be no continuity between the No. 1 and No. 3 terminals when power is disconnected.