Curiosii for ever!: Car repair manuals for everyone.

Electronic Control System

Electronic Control System

Electronic Control





The electronic control system consists of the powertrain control module (PCM), sensors, and seven solenoid valves. Shifting and lock-up are electronically controlled for comfortable driving under all conditions.

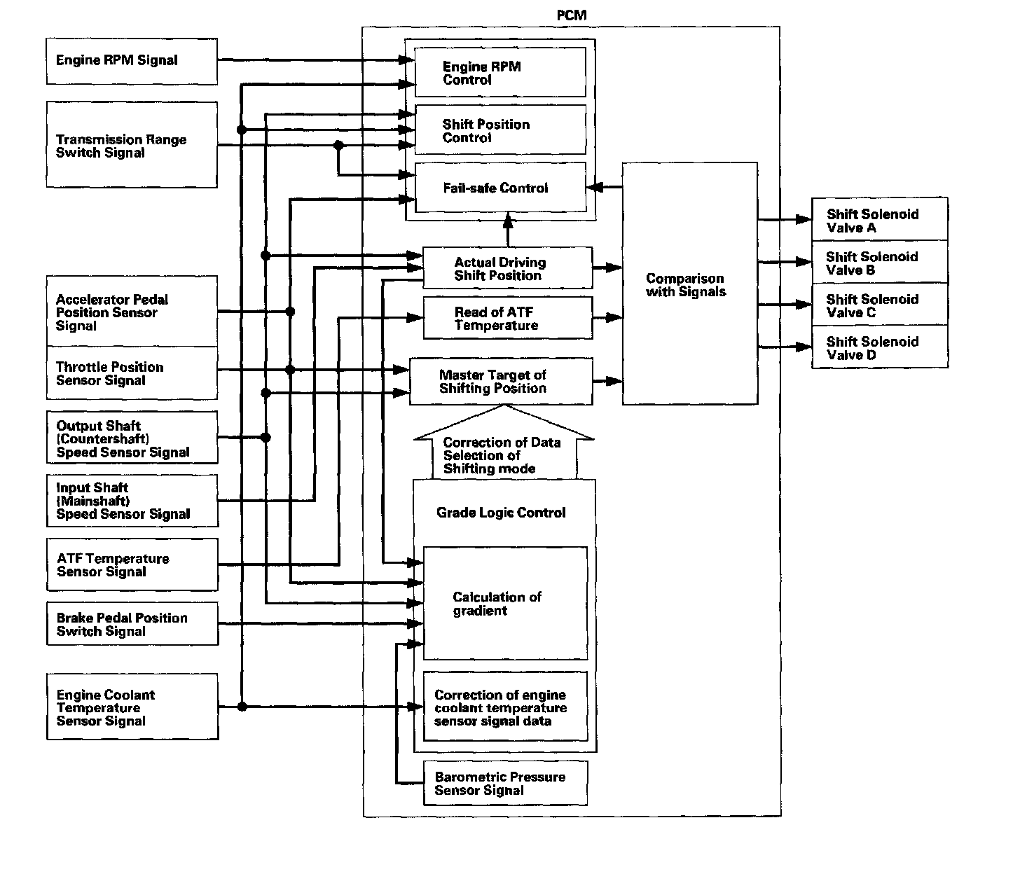
The PCM receives input signals from the sensors, switches, and other control units, processes data, and outputs signals for the engine control system and A/T control system. The A/T control system includes shift control, grade logic control, clutch pressure control, and lock-up control. The PCM switches the shift solenoid valves and the A/T clutch pressure control solenoid valves to control shifting transmission gears and lock-up torque converter clutch.





Electronic Controls Locations

Shift Control
The PCM instantly determines which gear should be selected by various signals sent from sensors and switches, and it actuates the shift solenoid valves A, B, C, and D to control shifting transmission gears.

Shift solenoid valves are a normally closed type. Shift solenoid valve opens the port of shift solenoid valve pressure leading to shift valves while shift solenoid valve is turned ON by the PCM, and closes the port when shift solenoid valve is OFF.





The combination of driving signals to shift solenoid valves A, B, C, and D and their respective gear position are shown in the table.

Shift Control - Grade Logic Control





The grade logic control system has been adopted to control shifting in the D position. To control shifting while the vehicle is ascending or descending a slope, the PCM compares actual driving conditions with memorized driving conditions, based on the input from the accelerator pedal position sensor, the throttle position sensor, the engine coolant temperature sensor, the barometric pressure sensor, the brake pedal position switch signal, and the shift lever position signal.

Grade Logic Control: Ascending Control





When the PCM determines that the vehicle is climbing a hill in the D position, the system extends the engagement area of 2nd gear, 3rd gear, and 4th gear to prevent the transmission from frequently shifting between 2nd and 3rd gears, between 3rd and 4th gears, and between 4th and 5th gears, so the vehicle can run smooth and have more power when needed.

NOTE: Shift commands stored in the PCM between 2nd and 3rd gears, between 3rd and 4th gears, and between 4th and 5th gears, enable the PCM to automatically select the most suitable gear according to th6'magnitude of a gradient.

Grade Logic Control: Descending Control





When the PCM determines that the vehicle is going down a hill in the D position, the shift-up speed from 4th to 5th gear, 3rd to 4th gear, and from 2nd to 3rd (when the throttle is closed) becomes faster than the set speed for flat road driving to widen the 4th gear, 3rd gear, and 2nd gear engagement areas. This, in combination with engine braking from the deceleration lock-up, achieves smooth driving when the vehicle is descending. There are three descending modes with different 4th gear driving areas, 3rd gear driving areas and 2nd gear driving areas according to the magnitude of a gradient stored in the PCM. When the vehicle is in 5th or 4th gear and you are decelerating while applying the brakes on a steep hill, the transmission will downshift to a lower gear. When you accelerate, the transmission will then return to a higher gear.

Clutch Pressure Control





The PCM actuates the A/T clutch pressure control solenoid valves A, B, and C to control the clutch pressure. When shifting between gears, the clutch pressure regulated by the A/T clutch pressure control solenoid valves A, B, and C engages and disengages the clutch smoothly.

The PCM receives input signals from the various sensors and switches, processes data, and outputs current to the A/T clutch pressure control solenoid valves A, B, and C.

Lock-up Control





The shift solenoid valve D controls the hydraulic pressure to switch the lock-up shift valve and lock-up ON and OFF. The PCM actuates the shift solenoid valve D and the A/T clutch pressure control solenoid valve A to start lock-up. The A/T clutch pressure control solenoid valve A applies and regulates hydraulic pressure to the lock-up control valve to control the volume of the lock-up.

The lock-up mechanism operates in the D position (2nd, 3rd, 4th, and 5th), and in the D3 position (2nd and 3rd).





PCM A/T Control System Electrical Connections

PCM A/T Control System Inputs and Outputs:




PCM A/T Control System Inputs and Outputs:




PCM A/T Control System Inputs and Outputs:




PCM A/T Control System Inputs and Outputs:




PCM A/T Control System Inputs and Outputs:





PCM A/T Control System Inputs and Outputs