Curiosii for ever!: Car repair manuals for everyone.

A/T Clutch Pressure Control Solenoid Valve C Test

A/T Clutch Pressure Control Solenoid Valve C Test





1. Connect the HDS to the DLC (A).
2. Choose Clutch Pressure Control (Linear) Solenoid C in Miscellaneous Test Menu with the HDS.

NOTE: If the HDS does not communicate with the PCM, troubleshoot the DLC circuit.

3. Test the A/T clutch pressure control solenoid valve C with the HDS.
^ If the valve tests OK, the test is complete. Disconnect the HDS.
^ If the valve does not test OK, follow the instructions on the HDS.
^ If the valve does not test OK, and the HDS does not determine the cause, go to step 4.

4. Remove the air cleaner housing and air intake duct.





5. Remove the mounting bolts securing the harness cover (A), and remove the harness clamp (B).





6. Disconnect the A/T clutch pressure control solenoid valve C connector.
7. Measure the A/T clutch pressure control solenoid valve C resistance at the connector terminals.

Standard: 3 - 10 Ohms

^ If the resistance is out of standard, replace the A/T clutch pressure control solenoid valve C.
^ If the resistance is within the standard, go to step 8.

8. Connect a jumper wire from the negative battery terminal to the solenoid valve C connector terminal No. 2, and connect another jumper wire from the positive battery terminal to the connector terminal No. 1.
^ If a clicking sound is heard, the valve is OK. Reconnect the connector, and install all removed parts.
^ If no clicking sound is heard, go to step 9.





9. Remove the A/T clutch pressure control solenoid valve B and C.
10. Remove the ATF pipe (A), ATF joint pipes (D), O-rings (E), and gasket (F).
11. Check the fluid passage of the solenoid valve for contamination.





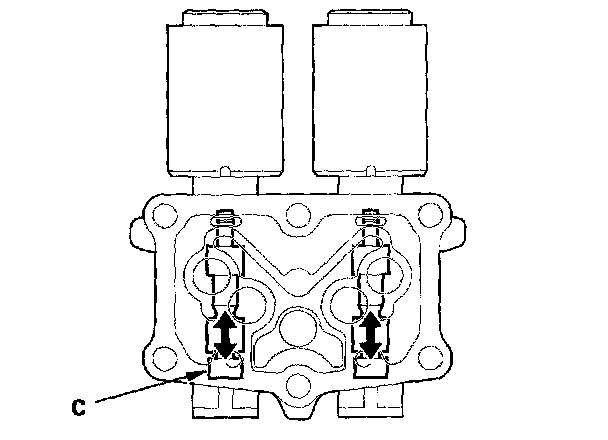
12. Connect a jumper wire from the negative battery terminal to A/T clutch pressure control solenoid valve C connector terminal No. 2, and connect another jumper wire from the positive battery terminal to the connector terminal No. 1. Make sure the A/T clutch pressure control solenoid valve C moves.
13. Disconnect one of the jumper wires and check valve movement at the fluid passage in the valve body mounting surface. If the valve binds or moves sluggishly, or if the solenoid valve does not operate, replace the A/T clutch pressure control solenoid valve B and C.
14. Clean the mounting surfaces and fluid passages of the solenoid valve body.
15. Install the new gasket with blue side down; white side up on the transmission housing.
16. Install the ATF pipe and ATF joint pipes, and install the new O-rings over the ATF joint pipes.
17. Install the A/T clutch pressure control solenoid valve B and C.
18. Check the A/T clutch pressure control solenoid valve B and C connector for rust, dirt, or oil, then connect the connectors securely.
19. Secure the harness cover with the mounting bolts, and install the harness clamp.
20. Install the air intake duct and air cleaner housing.