Curiosii for ever!: Car repair manuals for everyone.

Electronic Throttle Control System

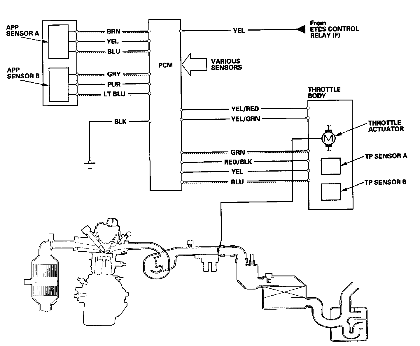
Electronic Throttle Control System Diagram




The electronic throttle control system consists of the throttle actuator, throttle position (TP) sensor A/B, accelerator pedal position (APP) sensor A/B, electronic throttle control system (ETCS) control relay (F), and the PCM.