Curiosii for ever!: Car repair manuals for everyone.

Engine Installation

Engine Installation

Special Tools Required
^ Engine hanger plate 07AAK-SNAA120
^ 1.8 support eyelet 07AAK-SNAA400
^ 1.8 support bolt 07AAK-SNAA500
^ Front subframe adapter VSB02C000016 *
^ 2006 Civic engine hanger VSB02C000025 *
^ Engine support hanger, A and Reds AAR-T-12566 *
* :Available through Honda Tool and Equipment Program, 888-424-6857

1. Install the accessory brackets and tighten their bolts to the specified torques.





2. Position the engine/transmission assembly under the vehicle. Be sure that they are properly aligned. Carefully lower the vehicle until the engine and transmission are properly positioned in the engine compartment. Make sure the vehicle is not resting on any part of the engine or transmission. Lift and support the engine with a chain hoist and carefully raise the engine/transmission assembly into place.

NOTE: Reinstall the mounting bolts/support nuts in the sequence given in the following steps. Failure to follow this sequence may cause excessive noise and vibration, and reduce engine mount life.





3. Install support eyelet (A) behind the breather pipe (B) and down to the thread hole (C) on the cylinder head.





4. Attach the support eyelet (A) to the cylinder head with the support bolt (B). Tighten the bolt by hand.





5. Install the front leg assembly (A), hook (B), and wing nut (C) from an A and Reds engine support hanger (AAR-T-12566) onto the engine hanger. Carefully position the engine hanger on the vehicle, and attach the hook to the slotted hole in the support eyelet (D). Tighten the wing nut by hand to lift and support the engine/transmission assembly.

NOTE: Use care when working around the windshield.





6. Loosen the upper torque rod mounting bolt (A).





7. Tighten the new side engine mount bracket mounting bolt and nut.





8. Tighten the new transmission mounting bolt and nuts (A).





9. Install the ground cable (B).
10. Remove the chain hoist, then raise the vehicle on the hoist to full height.
11. Using the subframe adapter (A) and a jack, raise the subframe up to body.





12. Loosely install the new subframe mounting bolts.





13. Align the front subframe reference marks (A) to the body (B), as noted during removal. Tighten the subframe mounting bolts to the specified torque.





14. Remove the jack and front subframe adapter.
15. Tighten the new mid-stiffener mounting bolts on both sides.





16. Install the lower torque rod, then tighten the new lower torque rod mounting bolts in the numbered sequence shown.





17. Lower the vehicle on the hoist, and remove the engine hanger, support eyelet, and bolt.
18. Tighten the upper torque rod mounting bolt.





19. Remove the special tool and bolt (A), then install the ground cable (B).





20. Raise the vehicle on the hoist to full height.
21. Install the steering gearbox stiffener (A), then tighten the steering gearbox mounting bolt and stiffener bolt.





22. Position the "FR" mark to the front of the vehicle, then install the steering gearbox bracket (B).
23. Install the steering gearbox stiffener (A), then tighten the steering gearbox mounting bolt and stiffener bolt.





24. Install the power steering (P/S) line on the clamp (A), then install the P/S line brackets (B) on the subframe.





25. Install the P/S pump.





26. Install the shift cable.
27. Install a new set ring on the end of each driveshaft, then install the driveshafts. Make sure each ring "clicks" into place in the differential and intermediate shaft.
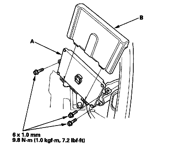
28. Connect the lower arms to the knuckles.
29. Connect the stabilizer links.
30. Install exhaust pipe A. Use new gaskets (B) and new self-locking nuts (C).





31. Install the splash shield.





32. Lower the vehicle on the hoist. Install the heater hoses.
33. Install the A/C compressor (A).





34. Connect the A/C compressor clutch connector (B), then install the harness clamp (C).





35. Install the drive belt.
36. Remove the bulkhead, then install the radiator.
38. Connect the powertrain control module (PCM) connectors (A) and engine wire harness connectors (B).





39. Install the harness clamps (C).
40. Install the PCM (A), then install the PCM cover (B).





41. Install the battery cables (A) to the under-hood fuse/relay box.





42. Install the harness clamps (B).
43. Install the vacuum hose (A), the brake booster vacuum hose (B), and the power steering (P/S) hose clamp (C).





44. Install the fuel feed hose (A). Use new O-ring (B).





45. Install the under-cowl panel and cowl cover.
46. Install the air cleaner housing mounting bracket (A) on the cylinder head.





47. Install the air cleaner housing.
48. Install the front wheels.
49. Install the battery. Clean the battery posts and cable terminals with sandpaper, then assemble them, and apply grease to prevent corrosion.
50. Move the shift lever to each gear, and verify that the A/T gear position indicator follows the transmission range switch.
51. Do the leak Inspection.
52. Refill the engine with engine oil.
53. Refill the transmission with fluid.
54. Refill the radiator with engine coolant, and bleed air from the cooling system with the heater valve open.
55. Do the PCM reset procedure.
56. Do the crankshaft position (CKP) pattern clear/CKP pattern learn procedure.
57. Inspect the idle speed.
58. Inspect the ignition timing.
59. Check the wheel alignment.
60. Enter the anti-theft code for the radio or the navigation system, then enter the customer's audio presets.
61. Do the power window control unit reset procedure.
62. Set the clock.