Curiosii for ever!: Car repair manuals for everyone.

Electronic Brake Control Module: Description and Operation

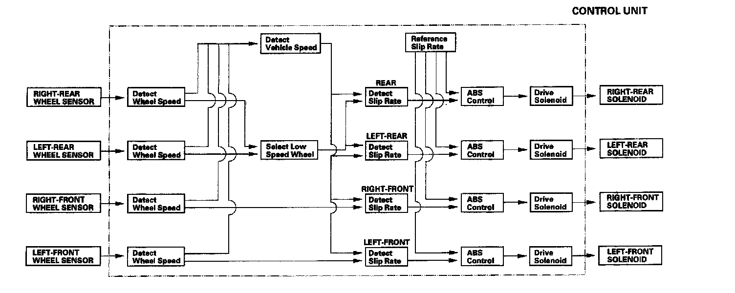
ABS Control Unit
Main Control





The control unit detects the wheel speed based on the wheel sensor signal it received, then it calculates the vehicle speed based on the detected wheel speed. The control unit detects the vehicle speed during deceleration based on the rate of deceleration.

The control unit calculates the slip rate of each wheel, and transmits the control signal to the modulator unit solenoid valve when the slip rate is high.

The hydraulic control has three modes pressure: Pressure reducing pressure, pressure retaining, pressure intensifying.