Curiosii for ever!: Car repair manuals for everyone.

Piston Ring Replacement

Piston Ring Replacement
1. Remove the piston from the engine block.
2. Using a ring expander (A), remove the old piston rings (B).





3. Clean all ring grooves thoroughly with a squared off broken ring or ring groove cleaner with a blade to fit the piston grooves.
The top and 2nd ring grooves are 1.2 mm (0.05 inch) wide. The oil ring groove is 2.0 mm (0.08 inch) wide.
File down a blade if necessary.
Do not use a wire brush to clean the ring grooves, or cut the ring grooves deeper with the cleaning tools.

NOTE: If the piston is to be separated from the connecting rod, do not install new rings yet.

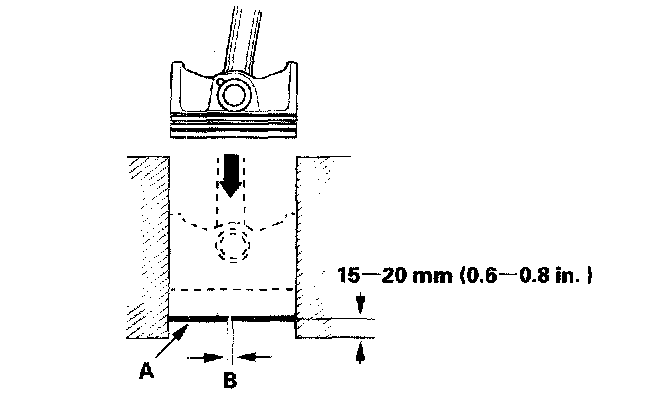
4. Using a piston, push a new ring (A) into the cylinder bore 15 - 20 mm (0.6 - 0.8 inch) from the bottom.





5. Measure the piston ring end-gap (B) with a feeler gauge:
^ If the gap is too small, check to see if you have the proper rings for your engine.
^ If the gap is too large, recheck the cylinder bore diameter against the wear limits. If the bore is over the service limit, the engine block must be rebored.
Piston Ring End-Gap
Top Ring:
Standard (New): 0.20 - 0.35 mm (0.008 - 0.014 inch)
Service Limit: 0.60 mm (0.024 inch)
Second Ring:
Standard (New): 0.40 - 0.55 mm (0.016 - 0.022 inch)
Service Limit: 0.70 mm (0.028 inch)
Oil Ring:
Standard (New): 0.20 - 0.70 mm (0.008 - 0.028 inch)
Service Limit: 0.80 mm (0.031 inch)
6. Install the top ring and second ring as shown. The top ring (A) has a T, 1A, or 1R mark and the second ring (B) has a 2T, 2A, or 2R mark. The manufacturing marks (C) must be facing upward.





7. Rotate the rings in their grooves to make sure they do not bind.
8. Position the ring end gaps as shown:





9. After installing a new set of rings, measure the ring-to-groove clearances:
Top Ring Clearance
Standard (New): 0.045 - 0.070 mm (0.0018 - 0.0028 inch)
Service Limit: 0.13 mm (0.005 inch)
Second Ring Clearance
Standard (New): 0.050 - 0.075 mm (0.0020 - 0.0030 inch)
Service Limit: 0.13 mm (0.005 inch)