Curiosii for ever!: Car repair manuals for everyone.

Front Fender Fairing Replacement

Front Fender Fairing Replacement

1. Remove the front inner fender as necessary.




2. Open the front door. Remove the upper clip (A), and from inside the door, remove the lower clip (A) securing the front fender fairing (B) and front fender (C).




3. From the wheel arch, remove the clip (A), and release the clip (B).




4. Remove the front fender fairing (A).




5. Install the fender fairing in the reverse order of removal, and note these items:
- Replace any damaged clips.
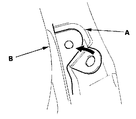
- Before installing the clips in the door opening area, install the front fender fairing (A) to the front fender (B) properly as shown.