Curiosii for ever!: Car repair manuals for everyone.

Trunk Lamp: Testing and Inspection

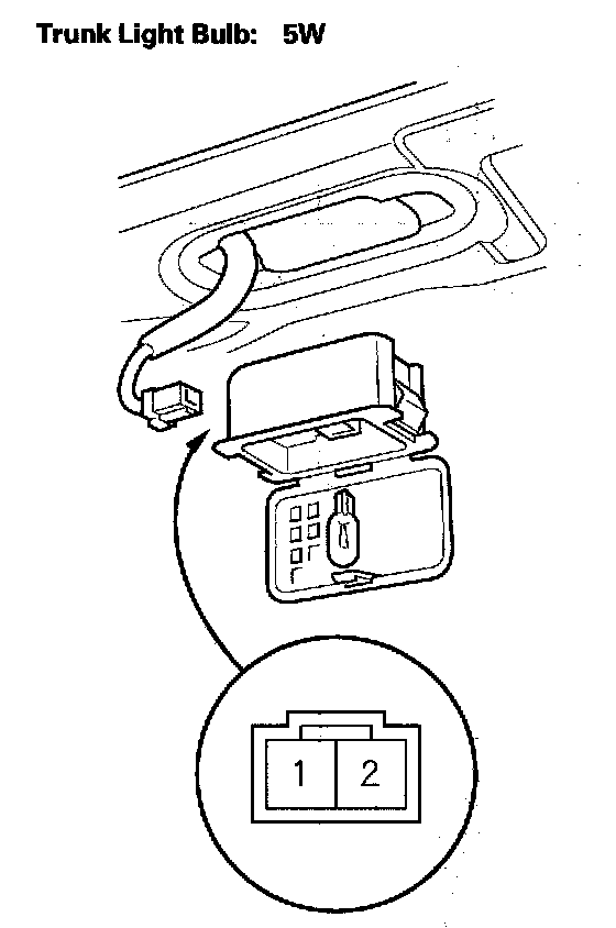
Trunk Light Test

1. Open the trunk lid.




2. Pry out the trunk light assembly.
3. Disconnect the 2P connector from the housing.
4. Open the trunk light cover.
5. Check for continuity between the No. 1 and No. 2 terminals.
6. If there is no continuity, replace the bulb or the light.