Passenger's Window Switch Test/Replacement
Passenger's Window Switch Test/Replacement1. Remove the passenger's door panel.
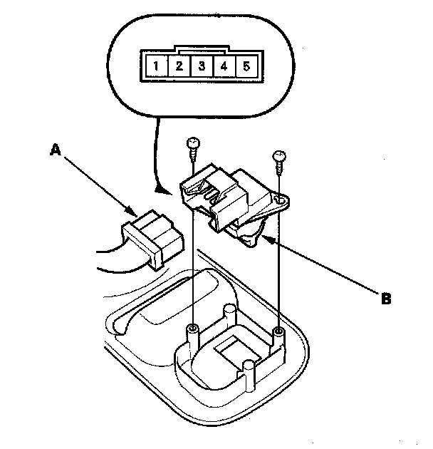
2. Disconnect the 5P connector (A) from the passenger's power window switch (B).
3. Check for continuity between the terminals in each switch position according to the table.
4. If the continuity is not as specified, remove the two screws and replace the switch.