Curiosii for ever!: Car repair manuals for everyone.

Procedures

How to Remove the ECM/PCM for Testing

1. Remove the passenger's dashboard lower cover, the right kick panel, and the glove box.




2. Remove the bolt. Cut the plastic cross brace in the glove box opening with diagonal cutters in the area shown, and discard it.




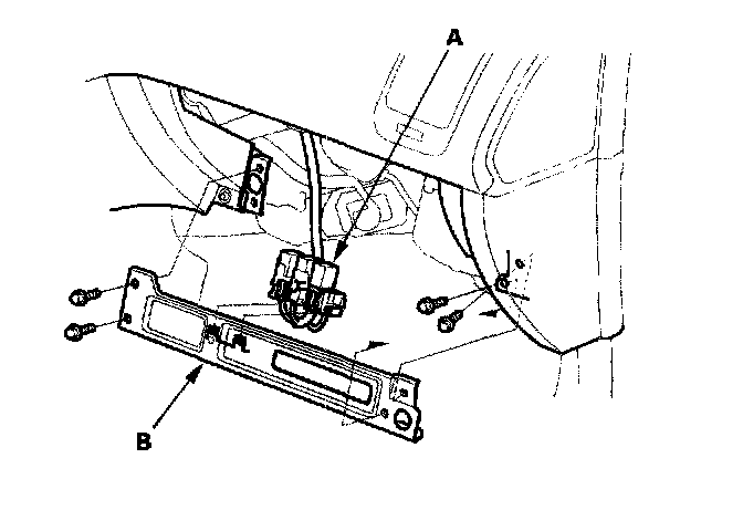
3. Remove the relays (A), then remove the bolts and the glove box frame (B).




4. Remove the gray 20P ECM/PCM wire harness connector from the ECM/PCM mounting bracket. Remove the ECM/PCM mounting bolt (A) and the bracket.
5. Remove the nuts, then remove the ECM/PCM (B).
6. Install the ECM/PCM in the reverse order of removal.