Curiosii for ever!: Car repair manuals for everyone.

2-Door

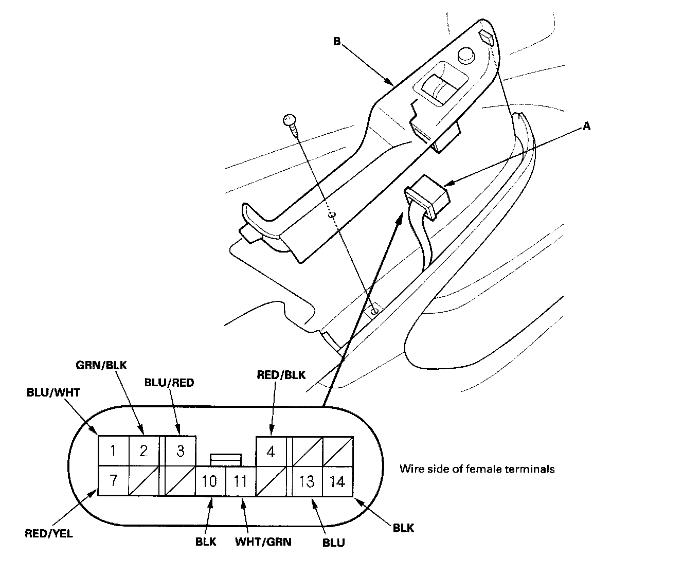
Master Switch Input Test

2-door

NOTE: The power window control unit is built into the power window master switch, and it only controls the driver's window operations.

1. Remove the switch panel.




2. Disconnect the 14P connector (A) from the master switch (B).
3. Inspect the connector and socket terminals to be sure they are all making good contact.
- If the terminals are bent, loose or corroded, repair them as necessary, and recheck the system.
- If the terminals look OK, go to step 4.




4. Reconnect the 14P connector to the power window master switch, and perform the above input tests.




5. Disconnected the 14P connector and, make these input tests at the connector.