Curiosii for ever!
: Car repair manuals for everyone.
Home
>>
Honda
>>
2005
>>
Civic L4-1.3L Hybrid
>>
Repair and Diagnosis
>>
Specifications
>>
Mechanical Specifications
>>
Engine
>>
System Specifications
>>
Torque Specifications
>>
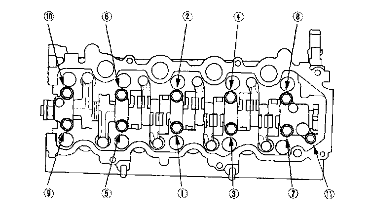
Rocker Arm Assembly and Camshaft
Rocker Arm Assembly and Camshaft
Apply engine oil to the bolt threads and flange. Tighten each bolt two turns at a time in sequence.
Specified torque:
8 mm bolts:
22 Nm (2.2 kgf-cm, 16 ft. lbs.)
6 mm bolt:
12 Nm (1.2 kgf-cm, 8.7 ft. lbs.)