Curiosii for ever!: Car repair manuals for everyone.

Torque Specifications







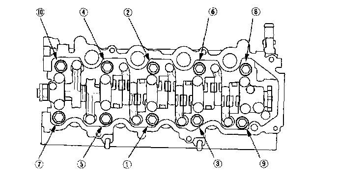
Tighten the cylinder head bolts in sequence to 29 Nm (3.0 kgf-cm, 22 ft. lbs.), use a beam-type torque wrench. When using a preset-type torque wrench, be sure to tighten slowly and do not overtighten. If a bolt makes any noise while you are torquing it, loosen the bolt and retighten it from the first step.


Tighten all cylinder head bolts an additional 130°