Curiosii for ever!
: Car repair manuals for everyone.
Home
>>
Honda
>>
2005
>>
Accord V6-3.0L Hybrid
>>
Repair and Diagnosis
>>
Specifications
>>
Mechanical Specifications
>>
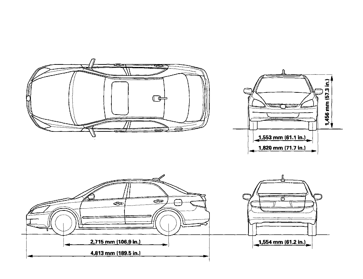
Body Specifications
Body Specifications
Body Specifications: