Curiosii for ever!: Car repair manuals for everyone.

Audio-HVAC Display Panel Disassembly/Reassembly

Audio-HVAC Display Panel Disassembly/Reassembly

1. Remove the audio-HVAC display panel.
2. Remove the active noise control unit.




3. Remove the mounting screws and the covers (A), then disconnect the connectors (B) (Navigation system) from the printed circuit board (C).




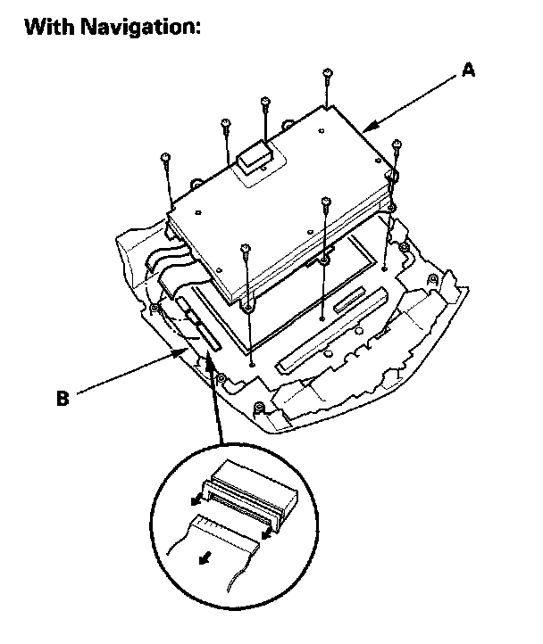
4. With navigation system: Remove the mounting screws and display unit (A) from the printed circuit board (B).




5. Remove the mounting screws and control knobs (A), then remove the printed circuit board (B).
6. Install the audio unit and printed circuit board in the reverse order of removal.