Curiosii for ever!: Car repair manuals for everyone.

Front Door Window Glass Weatherstrip: Service and Repair

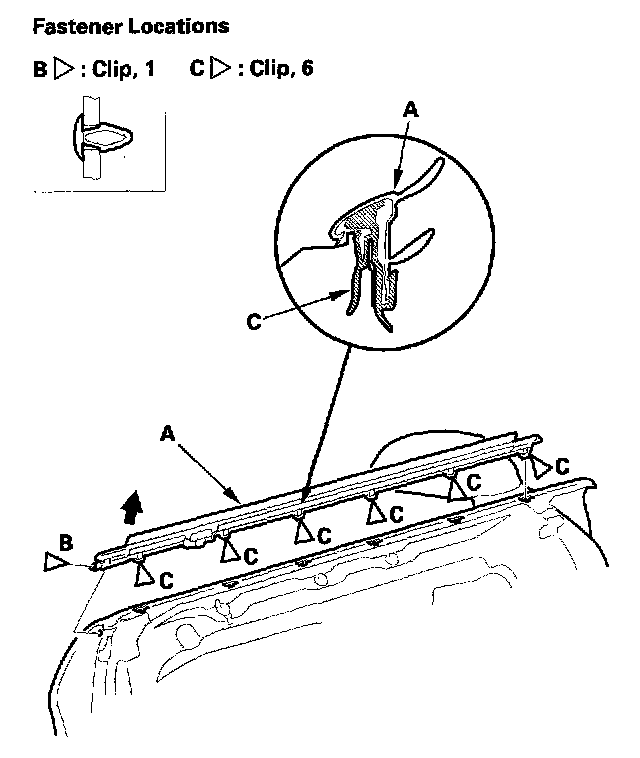
Door Glass Outer Weatherstrip Replacement

NOTE:
- Put on gloves to protect your hands.
- Take care not to scratch the door and door molding.

1. Remove the door sash holder.




2. Starting at the rear, pry the outer weatherstrip (A) up, and detach the clips (B, C).
3. Install the weatherstrip in the reverse order of removal, and note these items:
- Check for damaged or stress-whitened clips, and replace them with new ones.
- Push the clips into place securely.