Curiosii for ever!: Car repair manuals for everyone.

Fuel Tank Pressure Sensor: Service and Repair

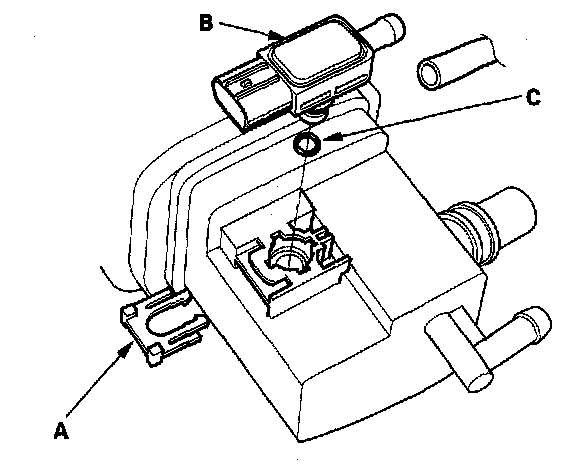
FTP Sensor Replacement

AT-PZEV (SULEV) model

1. Remove the EVAP canister.




2. Remove the clip (A) from the EVAP canister.
3. Remove the FTP sensor (B).
4. Install the sensor in the reverse order of removal with a new O-ring (C).