Map Light: Service and Repair
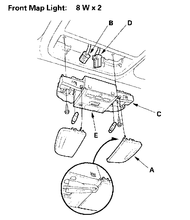
Front Individual Map Light ReplacementWith Moonroof
1. Carefully pry off the lens (A) with a small screwdriver.
2. Remove the two mounting screws.
3. Disconnect the 3P connector (B) from the housing (C).
4. Disconnect the 8P connector (D) from the ambient light (E).
5. Install the light in the reverse order of removal.
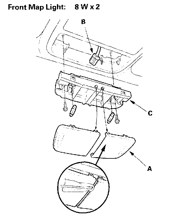
Without Moonroof
1. Carefully pry off the lens (A) with a small screwdriver.
2. Remove the two mounting screws.
3. Disconnect the 3P connector (B) from the housing (C).
4. Install the light in the reverse order of removal.