Curiosii for ever!: Car repair manuals for everyone.

Power Seat Switch: Service and Repair

Switch Test/Replacement

Driver's Power Seat (2-way Adjustable)




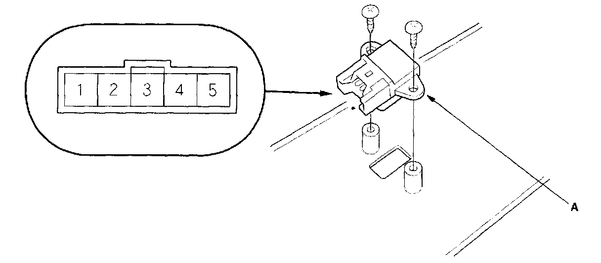
1. Remove the recline cover from the driver's power seat, then remove the two screws and the power seat adjustment switch.
2. Disconnect the 5P connector from the power seat adjustment switch (A).




3. Check for continuity between the terminals in each switch position according to the table.
4. If the continuity is not as specified, replace the switch.

Driver's Power Seat (8-way Adjustable)




1. Remove the power seat adjustment switch knobs (A) and recline cover from the driver's power seat, then remove the two screws and the power seat switch.
2. Disconnect the 12P connector from the power seat adjustment switch (B).
3. Reinstall the adjustment switch knobs to the switch.




4. Check for continuity between the terminals in each switch position according to the table.
5. If the continuity is not as specified, replace the switch.