Curiosii for ever!: Car repair manuals for everyone.

Electronic Throttle Actuator Relay: Testing and Inspection

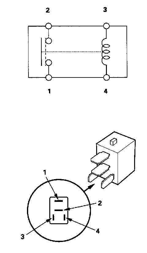
Power Relay Test




Use this chart to identify the type of relay, then do the test listed for it.

Normally-open type:




Check for continuity between the terminals.
- There should be continuity between the No. 1 and No. 2 terminals when power and ground are connected to the No. 3 and No. 4 terminals.
- There should be no continuity between the No. 1 and No. 2 terminals when power is disconnected.