Curiosii for ever!: Car repair manuals for everyone.

Air Bag Control Module: Service and Repair

SRS Unit Replacement

Removal

1. Disconnect the battery negative cable, and wait at least 3 minutes before beginning work.
2. Disconnect the airbag connectors and seat belt tensioner connectors.
3. Remove the center console and audio unit.




4. Disconnect the SRS unit 18P connector (A) from the SRS unit (B).




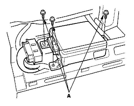
5. Remove the three Torx bolts (A) from the SRS unit, then pull out the SRS unit from the bracket.

Installation




1. Install the new SRS unit (A) with Torx bolts (B), then connect the SRS unit 18P connector (C) to the SRS unit; push it into position until it clicks.

NOTE: When tightening the Torx bolts to the specified torque after replacement, be careful to turn them in so that their heads rest squarely on the brackets.

2. Reinstall the center console and audio unit.
3. Reconnect the airbag connectors and seat belt tensioner connectors.
4. Reconnect the battery negative cable.
5. After installing the SRS unit, confirm proper system operation: Turn the ignition switch ON (II); the SRS indicator should come on for about 6 seconds and then go OFF.