Curiosii for ever!: Car repair manuals for everyone.

Master Switch Test/Replacement

Master Switch Test

1. Remove the driver's door panel.




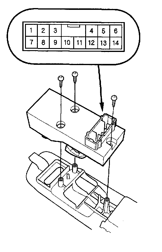
2. Disconnect the 14P connector from the power window master switch.




3. Check the master passenger's switch for continuity between the terminals in each switch position according to the table.

Driver's Switch

NOTE: The driver's switch is combined with the control unit so you cannot isolate the switch to test it. Instead, run the master switch input test procedures.

4. If the continuity is not as specified, replace the switch.