Curiosii for ever!: Car repair manuals for everyone.

Convertible Top Control Module: Testing and Inspection

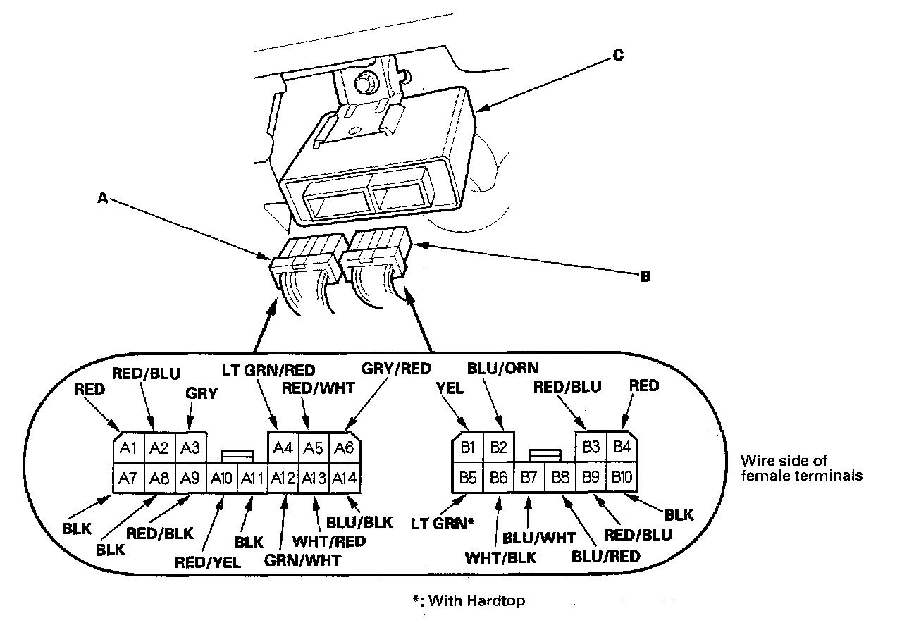
Convertible Top Control Unit Input Test

1. Remove the passenger's dashboard lower cover.




2. Disconnect the 14P connector (A) and 10P connector (B) from the convertible top control unit (C).
3. Inspect the connector and socket terminals to be sure they are all making good contact.
- If the terminals are bent, loose or corroded, repair them as necessary, and recheck the system.
- If the terminals look OK, go to step 4.







4. With the connectors still disconnected, make these input tests at the connectors.
- If any test indicates a problem, find and correct the cause, then recheck the system.
- If all the input tests prove OK, go to step 5.




5. Reconnect the connectors to the control unit, and make the input tests at the connectors.
- If any test indicates a problem, find and correct the cause, then recheck the system.
- If all the input tests prove OK, the control unit must be faulty; replace it.