Curiosii for ever!: Car repair manuals for everyone.

Windshield Washer Switch: Service and Repair

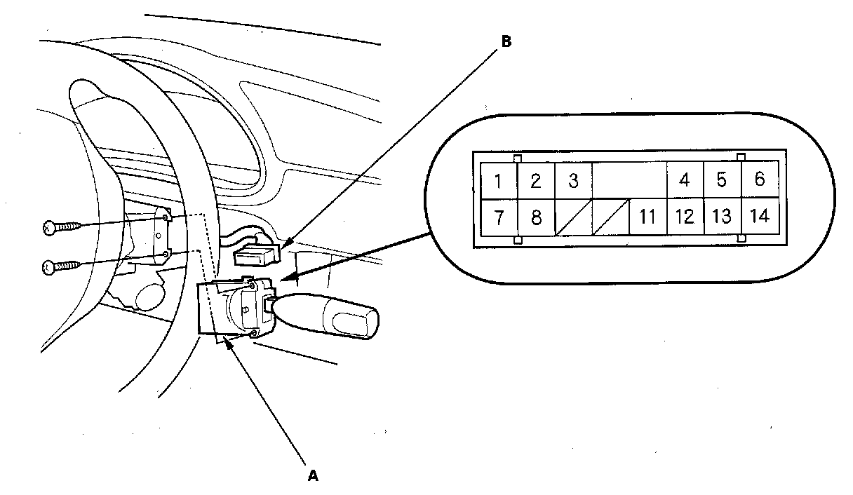
Wiper/Washer Switch Test/Replacement

1. Remove the steering column covers.




2. Disconnect the 14P connector (B) from the wiper/washer switch (A).
3. Remove the two screws, then pull out the switch.







4. Check for continuity between the terminals in each switch position according to the table. If the continuity is not as specified, replace the switch.