Curiosii for ever!: Car repair manuals for everyone.

Mini ISO Relay: Testing and Inspection


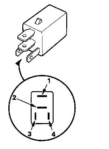
Normally-Open Type A




Fuel Cut/PGM-FI Main - Relay:





1. Turn the battery module switch OFF, and measure the voltage.
2. Check for continuity between the terminals.
- There should be continuity between the No.1 and No.2 terminals when power and ground are connected to the No.3 and No.4 terminals.
- There should be no continuity between the No.1 and No.2 terminals when power is disconnected.


Normally-Open Type B




EPS Motor Relay:






1. Turn the battery module switch OFF, and measure the voltage.
2. Check for continuity between the terminals.
- There should be continuity between the No.1 and No.3 terminals when power and ground are connected to the No.2 and No.4 terminals.
- There should be no continuity between the No.1 and No.3 terminals when power is disconnected.