Curiosii for ever!
: Car repair manuals for everyone.
Home
>>
Honda
>>
2000
>>
Civic GX Sedan L4-1.6L CNG
>>
Repair and Diagnosis
>>
Powertrain Management
>>
Computers and Control Systems
>>
Testing and Inspection
>>
Component Tests and General Diagnostics
>>
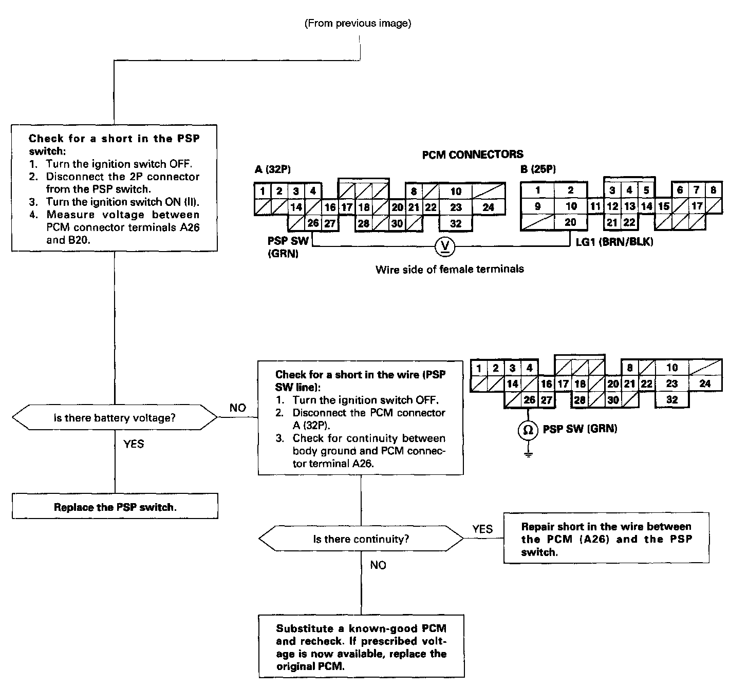
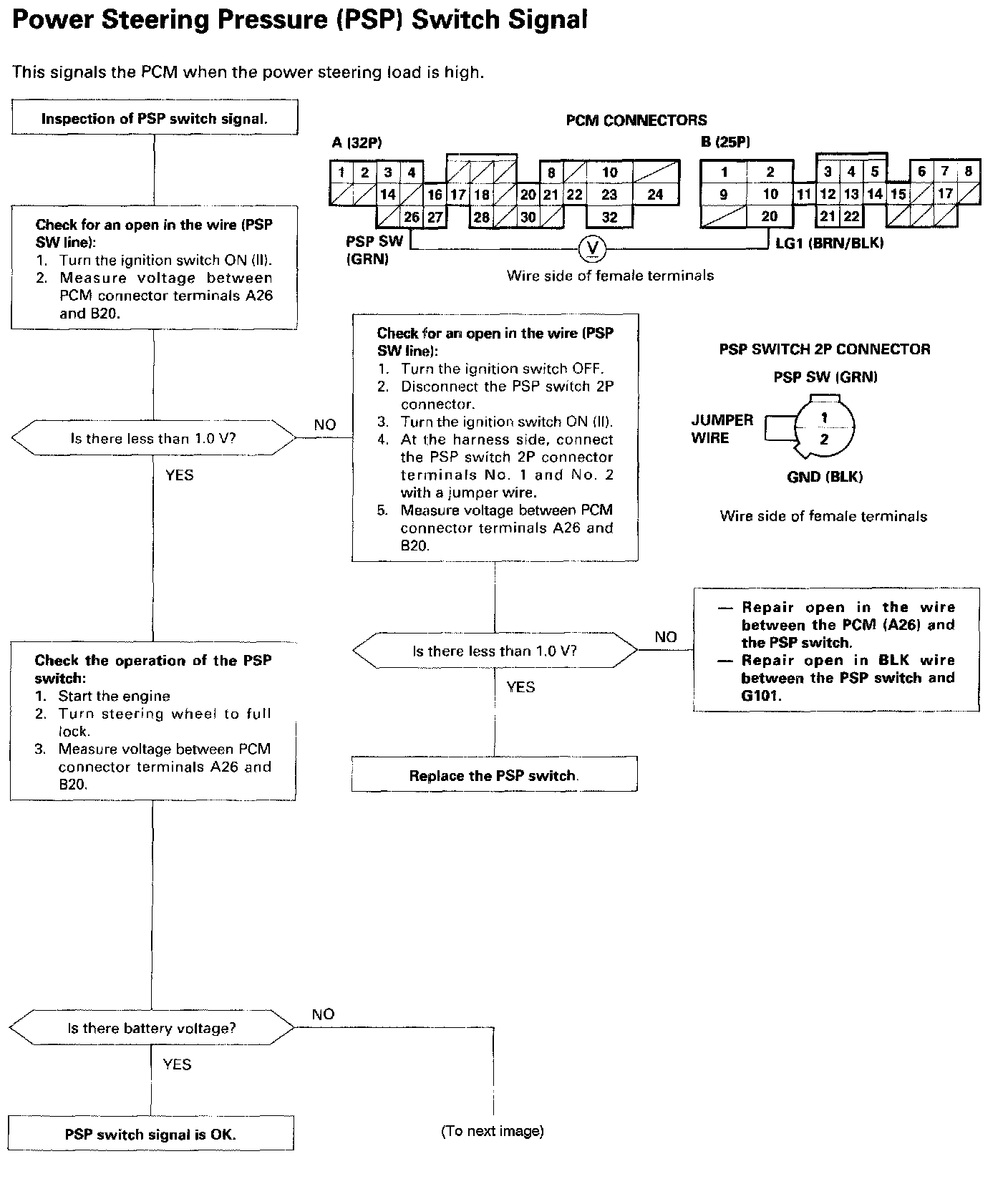
PSP Switch Signal Circuit Troubleshooting
PSP Switch Signal Circuit Troubleshooting
Part 1:
Part 2: