Curiosii for ever!: Car repair manuals for everyone.

Main Relay (Computer/Fuel System): Testing and Inspection


Part 1 Of 2:




Part 2 Of 2:







NOTE: If the engine starts and continues to run, the PGM-FI main relay is OK.

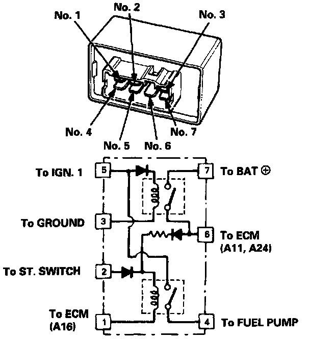
1. Remove the PGM-FI main relay.





2. Attach the battery positive terminal to the No.2 terminal and the battery negative terminal to the No.1 terminal of the PGM-FI main relay. Then check for continuity between the No.5 terminal and No.4 terminal of the PGM-FI main relay.
- If there is no continuity, replace the PGM-FI main relay and retest.
- If there is continuity, go on to step 3.

3. Attach the battery positive terminal to the No.5 terminal and the battery negative terminal to the No.3 terminal of the PGM-FI main relay. Then check that there is continuity between the No.7 terminal and No.6 terminal of the PGM-FI main relay.
- If there is no continuity, replace the PGM-FI main relay and retest.
- If there is continuity, go on to step 4.

4. Attach the battery positive terminal to the No.6 terminal and the battery negative terminal to the No.1 terminal of the PGM-FI main relay. Then check that there is continuity between the No.5 terminal and No.4 terminal of the PGM-FI main relay.
- If there is no continuity, replace the PGM-FI main relay and retest.
- If there is continuity, the PGM-FI main relay is OK. If the fuel pump still does not work, go to Harness Testing.