Curiosii for ever!
: Car repair manuals for everyone.
Home
>>
Honda
>>
1999
>>
Accord LX Sedan V6-3.0L
>>
Repair and Diagnosis
>>
Windows and Glass
>>
Windows
>>
Power Window Switch
>>
Service and Repair
>>
Master Switch Replacement
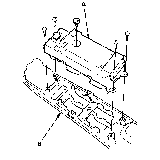
Master Switch Replacement
1.
Remove the screw and master switch assembly from the door panel.
2.
Remove the four mounting screws, then remove the master switch (A) from the panel (B).