Curiosii for ever!: Car repair manuals for everyone.

Alignment: Service and Repair

Caster Inspection





For proper inspection/adjustment of the wheel alignment, check and adjust the following before checking the alignment:
- Check that the suspension is not modified.
- Check the tire size and tire pressure.
- Check the runout of the wheels and tires.
- Check the suspension ball joints. (Hold a wheel with your hands and move it up and down and right and left to check for wobbling).

Use commercially-available computerized four wheel alignment equipment to measure wheel alignment (caster, camber, toe, and/or turning angle). Follow the equipment manufacturer's instructions.
1. Check the caster angle.
Caster angle: 2°48' ± 1°
2. If out of specification, record the caster reading, then adjust the caster.

Caster Adjustment
Caster angle can be adjusted by increasing/decreasing the number of the adjusting shims. Remove and install the radius rod each time the caster angle is adjusted.
1. Raise the front of the vehicle, and make sure it is securely supported.





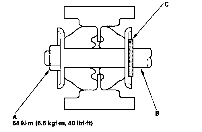
2. Remove the self-locking nut (A) on the end of the radius rod (B).
3. Remove the flange bolts at the radius rod (B) on the lower arm, and remove the radius rod.
4. Adjust the caster angle by increasing/decreasing the adjusting shims (C).
Note these items during adjustment:
- Do not use more than two adjusting shims.
- One adjusting shim changes the caster angle by 35' and the caster angle can be adjusted by 1°10' maximum.
- One adjusting shim is 3.2 mm (0.13 inch) in thickness.
5. After the adjustment, install the radius rod onto the lower arm, and tighten the flange bolts.
6. Tighten the new self-locking nut to the specified torque.

Camber Inspection
Use commercially-available computerized four wheel alignment equipment to measure wheel alignment (caster, camber, toe, and/or turning angle). Follow the equipment manufacturer's instructions.
1. Check the camber angle.
Camber angle:
Front: 0°00' ± 1°
Rear: -0°30' ± 1°
2. If out of specification, check for bent or damaged suspension components.

Front Toe Inspection/Adjustment
Use commercially-available computerized 4 wheel alignment equipment to measure wheel alignment (caster, camber, toe, and/or turning angle). Follow the equipment manufacturer's instructions.
1. Check the tire pressure.
2. Center the steering wheel spokes.
3. Check the toe with the wheels pointed straight ahead.
Front toe: 0 ± 2 mm (0 ± 1/16 inch)
- If adjustment is required, go on to step 4.
- If no adjustment is required, remove alignment equipment.





4. Loosen the tie-rod locknuts (A), and turn both tie rods (B) in the same direction until the front wheels are pointing straight ahead.
5. Turn both tie-rods equally until the toe reading on the turning radius gauge, is correct.
6. After adjusting, tighten the tie-rod locknuts. Reposition the tie-rod boot if it is twisted or displaced.

Rear Toe Inspection/Adjustment
Use commercially-available computerized four wheel alignment equipment to measure wheel alignment (caster, camber, toe, and/or turning angle). Follow the equipment manufacturer's instructions.
1. Release the parking brake to avoid an incorrect measurement.
2. Check the toe.
Rear toe-in: 2 ± 2 mm (1/16 ± 1/16 inch)
- If adjustment is required, go to step 3.
- If no adjustment is required, remove alignment equipment.





3. Hold the adjusting bolt (A) on the rear control arm, and loosen the self-locking nut (B).
4. Adjust the rear toe by turning the adjusting bolt until the toe is correct.
5. Install the self-locking nut, and tighten it while holding the adjusting bolt.

Turning Angle Inspection
Use commercially-available computerized four wheel alignment equipment to measure wheel alignment (caster, camber, toe, and/or turning angle). Follow the equipment manufacturer's instructions.





1. Turn the wheel right and left while applying the brake, and measure the turning angle of both wheels.
2. If the turning angle is not within the specifications, check for bent or damaged suspension components.