Curiosii for ever!
: Car repair manuals for everyone.
Home
>>
Honda
>>
1996
>>
Del Sol L4-1590cc 1600
>>
Repair and Diagnosis
>>
Powertrain Management
>>
Diagrams
>>
Electrical Diagrams
>>
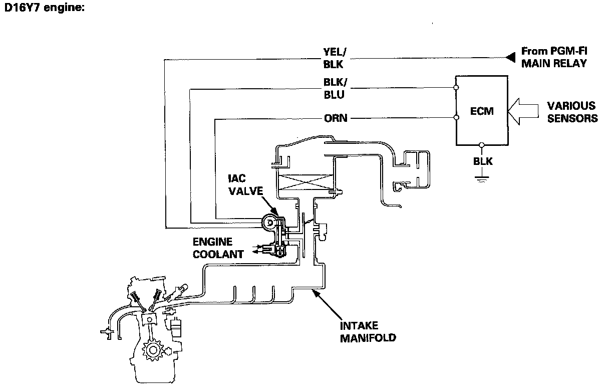
Idle Control System
Idle Control System