Curiosii for ever!
: Car repair manuals for everyone.
Home
>>
Honda
>>
1995
>>
Del Sol L4-1.5L SOHC
>>
Repair and Diagnosis
>>
Powertrain Management
>>
Computers and Control Systems
>>
Ignition Output Signal
>>
Testing and Inspection
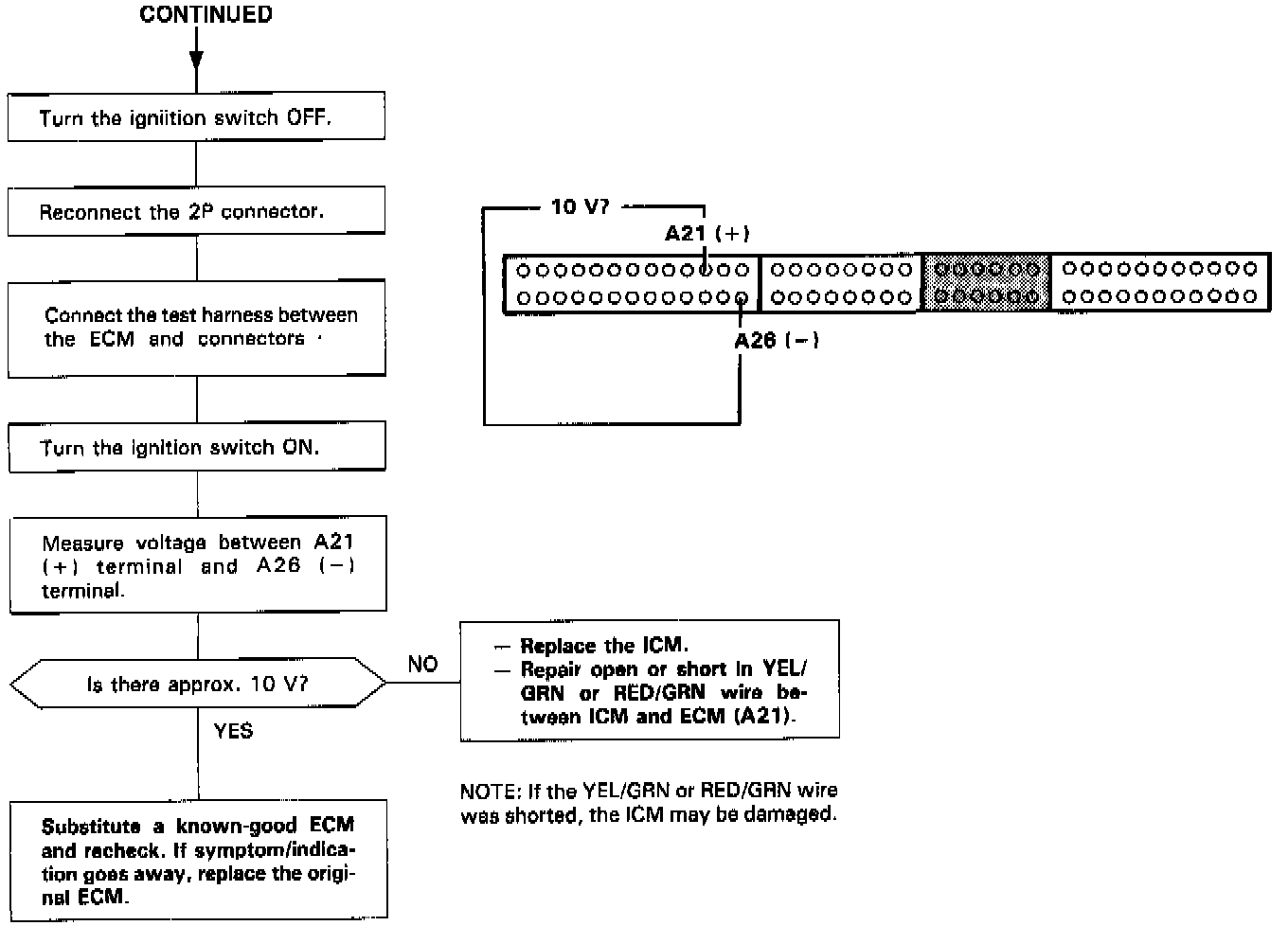
Ignition Output Signal: Testing and Inspection
DTC 15 / Ignition Output Signal (part 1 of 2):
DTC 15 / Ignition Output Signal (part 2 of 2):