Curiosii for ever!: Car repair manuals for everyone.

Main Switch Test/Replacement

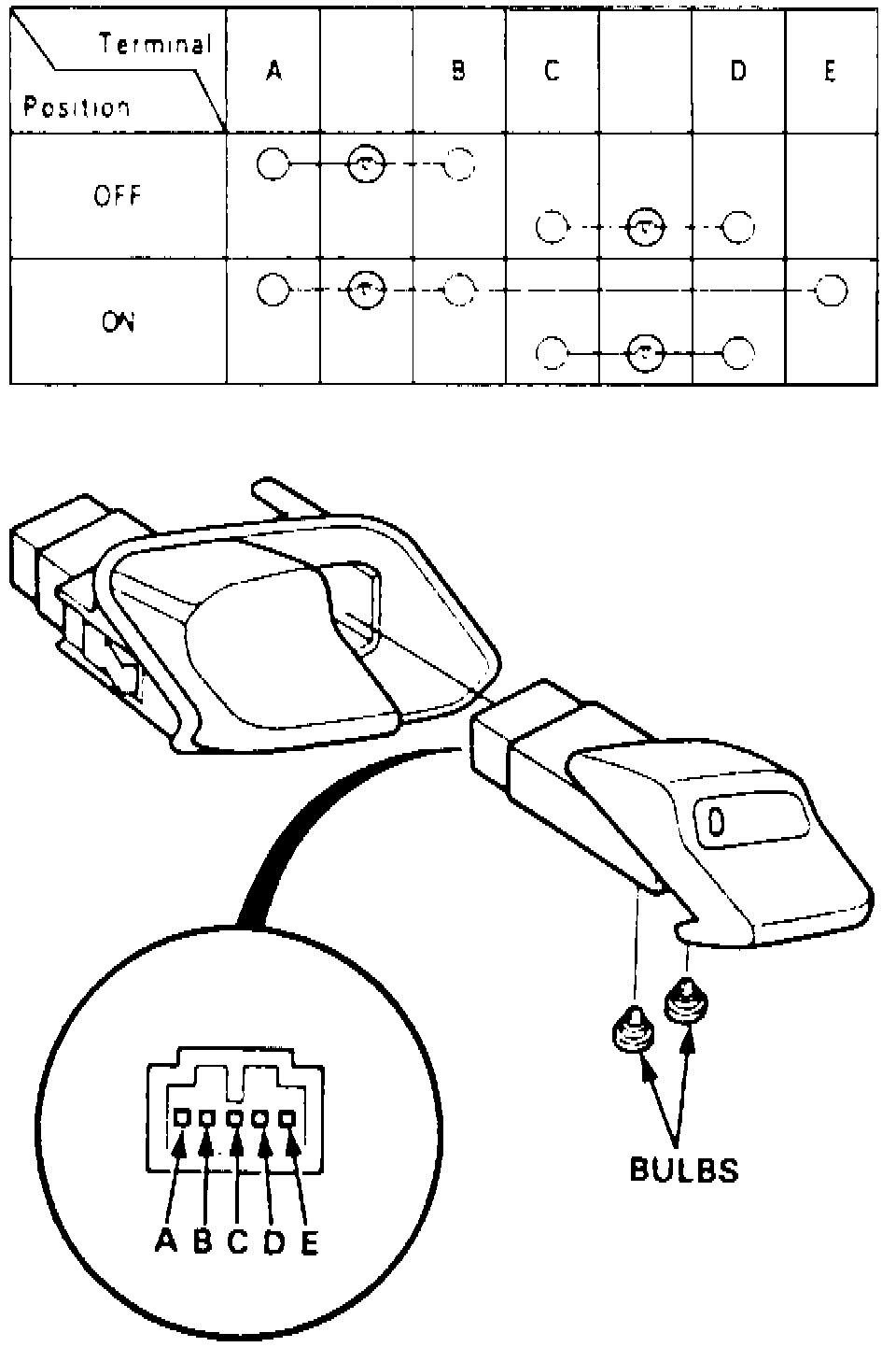
1. Carefully remove switch from instrument panel and disconnect electrical connectors.
2. Remove cruise control switch from switch panel.

Fig. 30 Main Switch Test:





3. Check for continuity between terminals in each switch position according to tables, Fig. 30.