Curiosii for ever!
: Car repair manuals for everyone.
Home
>>
Honda
>>
1995
>>
Civic Coupe L4-1.6L SOHC (VTEC)
>>
Repair and Diagnosis
>>
Powertrain Management
>>
Computers and Control Systems
>>
Ignition Output Signal
>>
Testing and Inspection
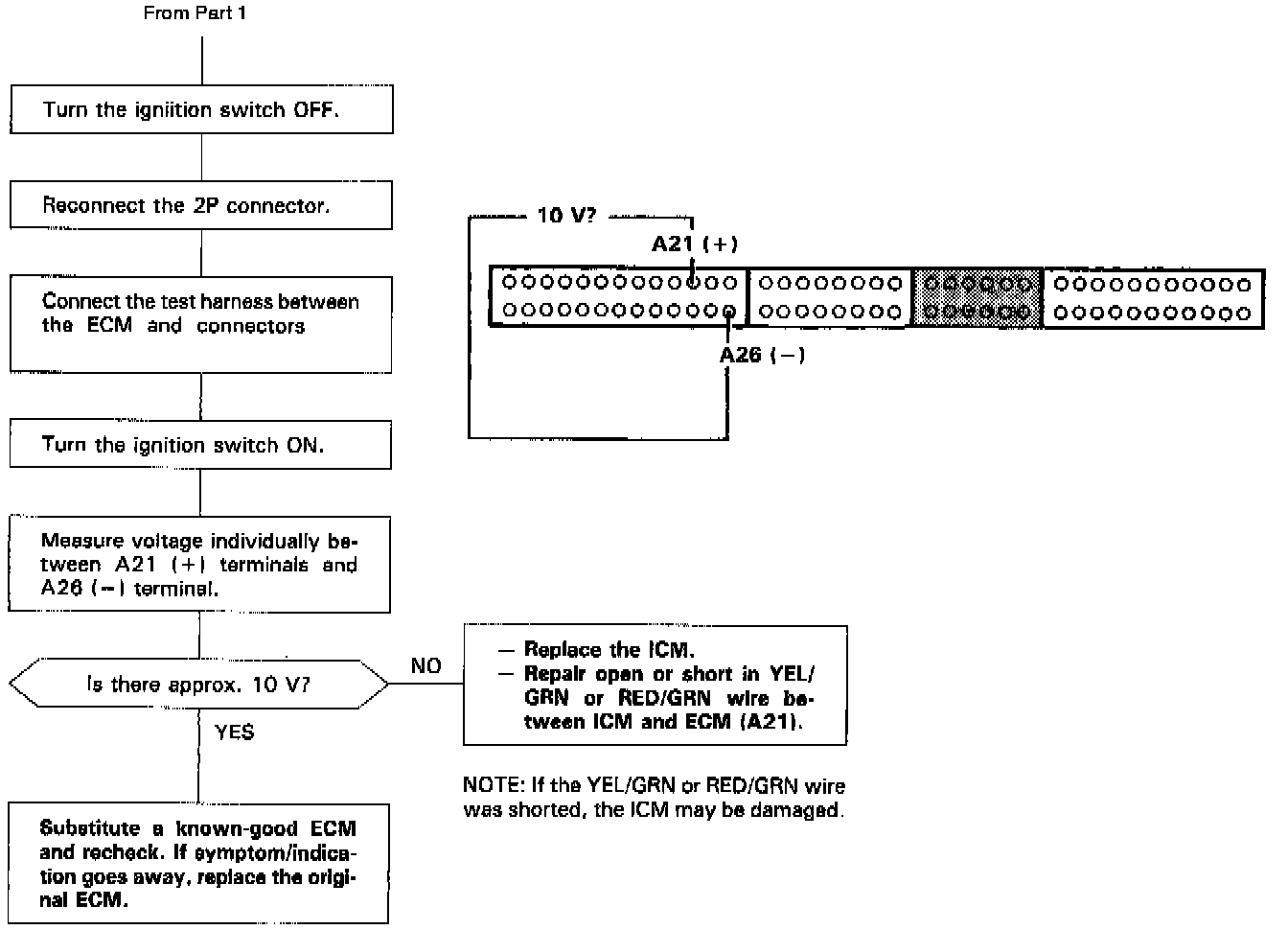
Ignition Output Signal: Testing and Inspection
The Malfunction Indicator Lamp (MIL) indicates Diagnostic Trouble Code (DTC) 15: A problem in the Ignition Output Signal circuit.