Curiosii for ever!
: Car repair manuals for everyone.
Home
>>
Honda
>>
1995
>>
Accord Wagon L4-2.2L SOHC
>>
Repair and Diagnosis
>>
Powertrain Management
>>
Computers and Control Systems
>>
Transmission Position Sensor/Switch
>>
Testing and Inspection
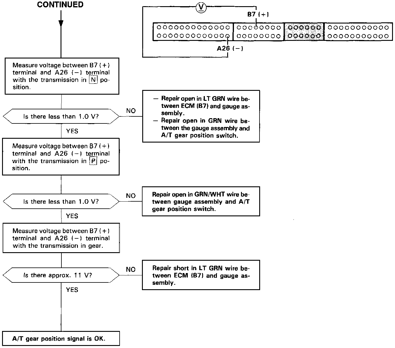
Transmission Position Sensor/Switch: Testing and Inspection
Automatic Transaxle (A/T) Gear position Signal (A/T only) / Flowchart / Part 1 Of 2:
Automatic Transaxle (A/T) Gear position Signal (A/T only) / Flowchart / Part 2 Of 2: