Curiosii for ever!: Car repair manuals for everyone.

Rectifier Diode / Bridge: Testing and Inspection

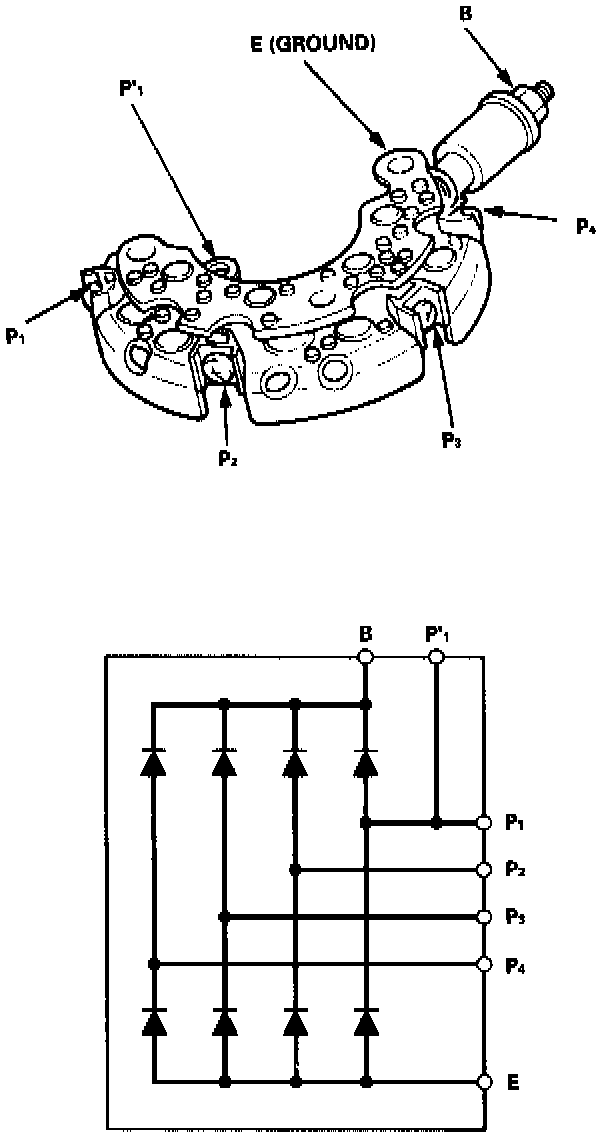
Rectifier Test (Nippondenso Alternator):






NOTE: The diodes are designed to allow current to pass in one direction, while blocking the opposite direction. The rectifier is made up of eight diodes (four pairs), each diode must be tested for continuity in both directions. A total of 16 checks.

1. Check for continuity in each direction, between the B and P (of each diode pair) terminals, and between the E (ground) and P (of each diode pair) terminals. All diodes should have continuity in only one direction.
2. If any of the eight diodes fails, replace the rectifier assembly. Diodes are not available separately.