Main Relay (Computer/Fuel System): Testing and Inspection
Relay TestingNOTE: If the car starts and continues to run, the main relay is OK.
1. Remove the cruise control unit.
2. Remove the main relay.
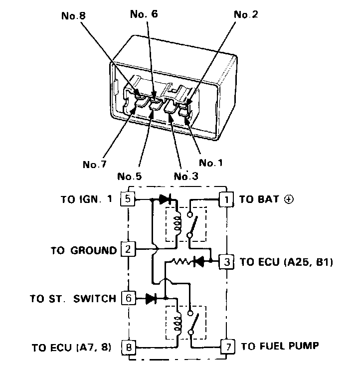
3. Attach the battery positive terminal to the No, 6 terminal and the battery negative terminal to the No. 8 terminal of the main relay. Then check for continuity between the No. 5 terminal and No. 7 terminal of the main relay.
^ If there is continuity, go on to step 3.
^ If there is no continuity, replace the relay and retest.
4. Attach the battery positive terminal to the No. 5 terminal and the battery negative terminal to the No. 2 terminal of the main relay. Then check that there is continuity between the No. 1 terminal and No. 3 terminal of the main relay.
^ If there is continuity, go on to step 4.
^ If there is no continuity, replace the relay and retest.
5. Attach the battery positive terminal to the No. 3 terminal and the battery negative terminal to the No. 8 terminal of the main relay. Then check that there is continuity between the No. 5 terminal and No.7 terminal of the main relay.
^ If there is continuity, the relay is OK.
^ If there is no continuity, replace the relay and retest.