Curiosii for ever!
: Car repair manuals for everyone.
Home
>>
Honda
>>
1990
>>
Accord L4-2156cc 2.2L SOHC
>>
Repair and Diagnosis
>>
Powertrain Management
>>
Computers and Control Systems
>>
A/C Signal
>>
Testing and Inspection
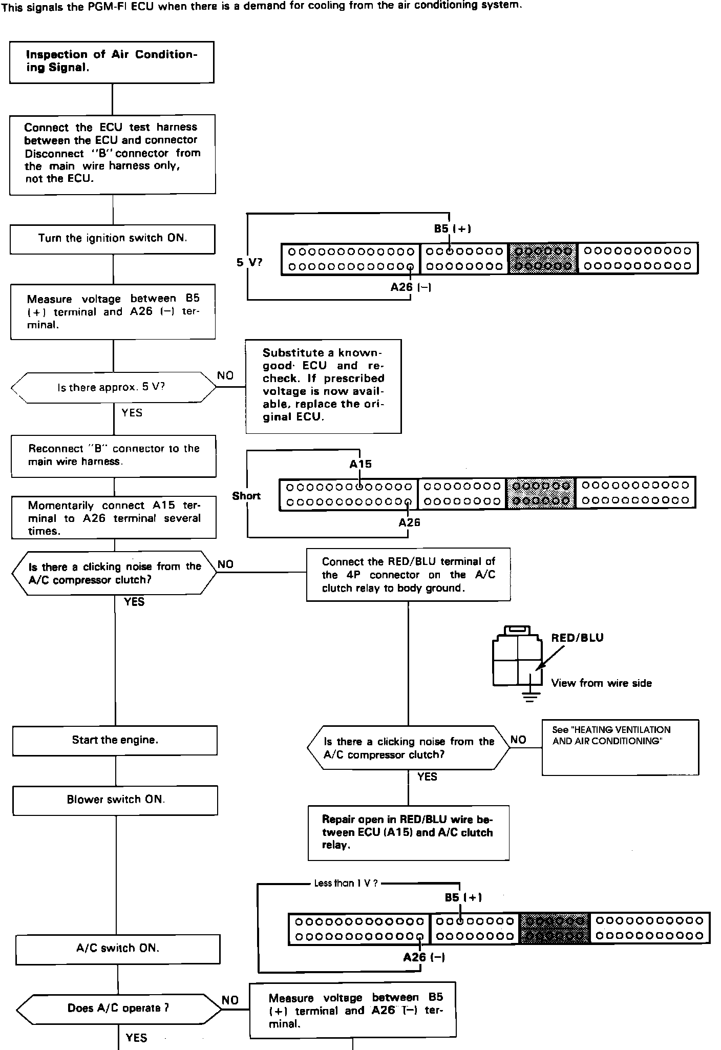
A/C Signal: Testing and Inspection
��'A/C Signal Troubleshooting Flowchart: