Curiosii for ever!: Car repair manuals for everyone.

Windshield: Service and Repair




Windshield Replacement

NOTE:

- Put on gloves to protect your hands.
- Wear eye protection when removing the glass with piano wire.
- Use seat covers to avoid damaging any surfaces.
- Glass adhesive can be efficiently cut with a commercially available auto glass tool. See the tool manufacture's instructions for details.
- Do not damage the windshield defogger grid lines or the defogger terminals.

1. Remove these items:

- Rearview mirror Rearview Mirror Replacement
- A-pillar trims, both sides Interior Trim Removal/Installation - Pillar Areas
- Windshield wiper arms Service and Repair
- Cowl cover Service and Repair
- Right tweeter grille

2. Lower the glove box Dashboard Center Lower Cover Disassembly/Reassembly.

3. Disconnect the windshield defogger connector (A) through the glove box opening, and pull out the windshield defogger harness (B) from the tweeter grille opening in the dashboard (C).






4. Remove the molding (A) from the edge of the windshield (B). If necessary, cut the molding with a utility knife.






5. If the old windshield will be reinstalled, make alignment marks across the glass and the body with a grease pencil.

6. Pull down the front portion of the headliner Service and Repair. Take care not to bend the headliner excessively, or you may crease or break it.

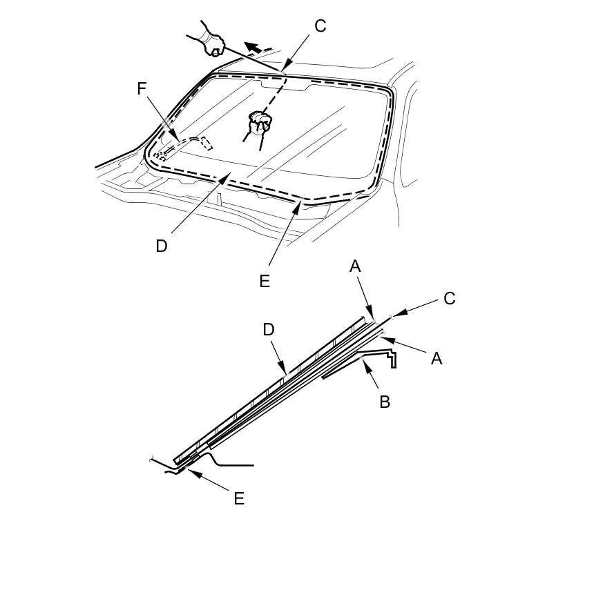
7. Apply protective tape along the edge of the dashboard and the body. Make a hole with an awl through the rubber dam, the adhesive, and the dashboard seal from inside the vehicle at a corner of the windshield. Push a piece of piano wire through the hole, and wrap each end around a piece of wood.

8. Apply the protective plastic plates (A) between the dashboard (B) and the piano wire (C), and between the windshield (D) and the piano wire. With a helper on the outside, pull the piano wire back and forth in a sawing motion. Hold the piano wire as close to the windshield as possible to prevent damage to the body and the dashboard. Carefully cut through the rubber dam and the adhesive (E) around the entire windshield. Take care not to damage the windshield defogger harness (F).






Cutting positions





9. Carefully remove the windshield.

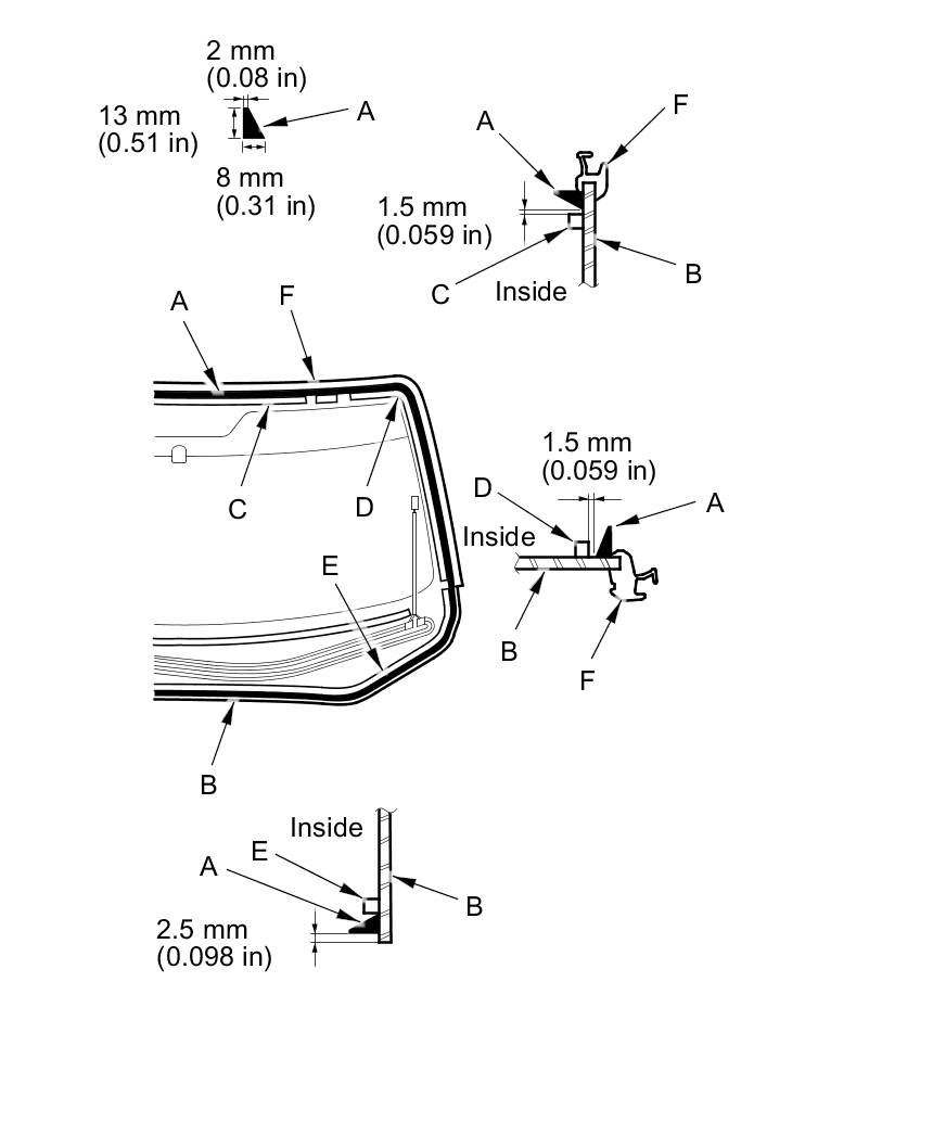
10. Scrape smooth the old adhesive with a knife until there is a thickness of about 2 mm (0.08 in) on the bonding surface around the entire windshield opening flange:

- Do not scrape down to the painted surface of the body; damaged paint will interfere with proper bonding.
- Remove the rubber dams and the fasteners from the body.

11. Clean the body bonding surface with a shop towel dampened in isopropyl alcohol. After cleaning, keep oil, grease and water from getting on the clean surface.

12. If you are reinstalling the old windshield, scrape off all of the old adhesive, the rubber dams and the dashboard seal from the windshield with a putty knife. Clean the bonding surfaces on the inside face and the edge of the windshield with isopropyl alcohol. Make sure the bonding surface is kept free of water, oil, and grease.

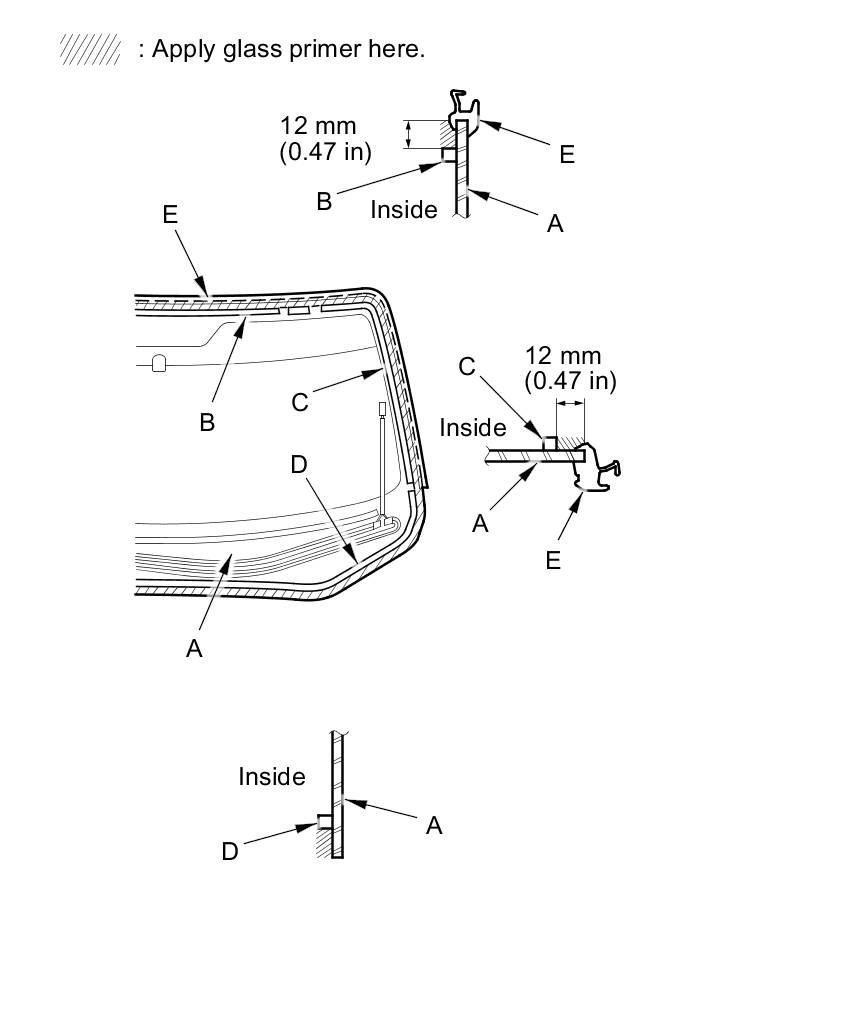
13. Apply glass primer to the fastener mounting area on the windshield (A), and let it dry. Remove the adhesive backing and attach the upper rubber dam (B), the side rubber dams (C), the lower rubber dam (D), the fasteners (E), and the dashboard seal (F) to the inside face of the windshield as shown.

- Be sure the rubber dams, the fasteners, and the dashboard seal line up with the alignment marks (G).
- Be careful not to touch the windshield where adhesive will be applied.





14. Apply glass primer to the edge of the windshield between the alignment marks (A). Be careful not to touch the windshield where adhesive will be applied.






15. Attach the molding (A) with adhesive tape (B) to the edge of the windshield (C):

- Be sure the alignment mark (D) of the molding lines up with the alignment mark (E) of the windshield.
- Be careful not to touch the windshield where adhesive will be applied.





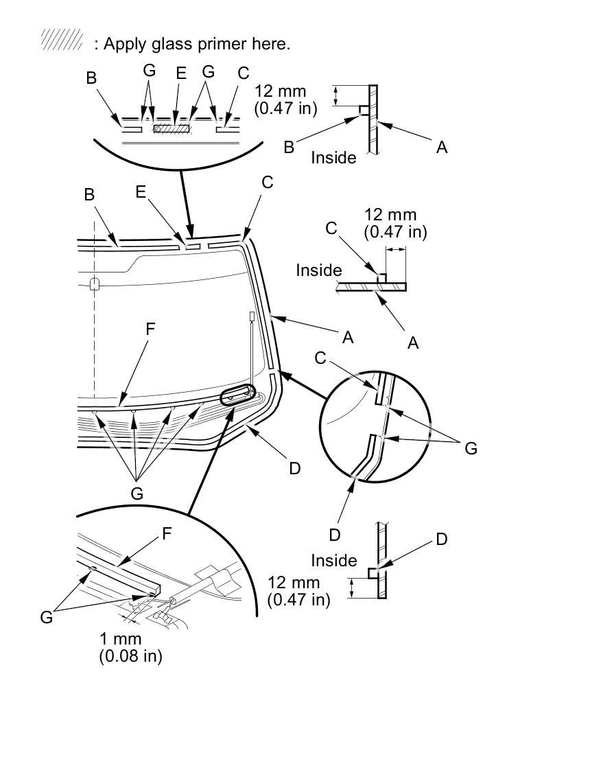
16. Attach the molding upper seals (A), the molding side seals (B), and the non woven fabric (C) to the inside surface of the molding (D), and attach the molding rubbers (E) with the adhesive tape to the inside surface of the molding lip (F) as shown:

- Be sure the molding upper seal and the molding side seal line up with the alignment dots (G).
- Be sure the molding rubber lines up with the alignment mark (H) of the molding.
- Be careful not to touch the windshield where the adhesive will be applied.





17. Install the fasteners to the body.






18. If you are installing a new windshield, set the windshield in the opening, and center it. Make alignment marks (A) across the windshield and the body with a grease pencil at the four points shown. Be careful not to touch the windshield where the adhesive will be applied.






19. Remove the windshield.

20. Apply a light coat of glass primer to the windshield (A) along the edge of the upper rubber dam (B), the side rubber dams (C), the lower rubber dam (D), and the molding (E) as shown, then lightly wipe it off with gauze or cheesecloth:

- Apply glass primer to the molding.
- Do not apply body primer to the windshield, and do not mix up the body primer applicator and the glass primer applicator.
- Never touch the primed surfaces with your hands. If you do, the adhesive may not bond to the windshield properly, causing a leak after the windshield is installed.
- Keep water, dust, and abrasive materials away from the primed surfaces.





21. Carefully apply a light coat of body primer to any exposed paint around the flange where the adhesive will be applied. Let the primer dry for at least 10 minutes:

- Do not apply body primer to any remaining original adhesive on the flange.
- Be careful not to mix up the body primer applicator and the glass primer applicator.
- Never touch the primed surface with your hands.
- Cover on the dashboard before applying the primer.





22. Cut a "V" in the end of the nozzle (A) on the adhesive cartridge as shown.






23. Put the cartridge in a caulking gun, and run a continuous bead of the adhesive (A) around the edge of the windshield (B) between the upper rubber dam (C), the side rubber dams (D), the lower rubber dam (E), and the molding (F) as shown. Apply the adhesive within 30 minutes after applying the glass primer. Make a slightly thicker bead at each corner.





24. Hold the windshield with suction cups over the opening, align it with the alignment marks you made in step 18, and set it down on the adhesive. Lightly push on the windshield until its edges are fully seated on the adhesive all the way around.

NOTE: Do not open or close any of the doors for about an hour until the adhesive is dry.

25. Remove the excess adhesive with a putty knife or a shop towel dampened with isopropyl alcohol.

26. Wait at least an hour for the adhesive to dry, then spray water over the windshield and check for leaks. Mark leaking areas, and let the windshield dry, then seal with sealant. Let the vehicle stand for at least 4 hours after windshield installation. If the vehicle has to be used within the first 4 hours, it must be driven slowly.

27. Reinstall all removed parts. Install the rearview mirror after the adhesive has dried thoroughly.

NOTE: Advise the customer not to do the following things for 2 to 3 days:

- Slam the doors with all the windows rolled up.
- Twist the body excessively (such as when going in and out of driveways at an angle, or driving over rough, uneven roads).