Curiosii for ever!: Car repair manuals for everyone.

Spark Plug: Testing and Inspection




Spark Plug Inspection

1. Remove the ignition coils and the spark plugs Service and Repair.

2. Inspect the electrodes and the ceramic insulator:

- Burned or worn electrodes may be caused by these conditions:
- Advanced ignition timing
- Loose spark plug
- Plug heat range too hot
- Insufficient cooling

- Fouled plugs may be caused by these conditions:
- Retarded ignition timing
- Oil in combustion chamber
- Incorrect spark plug gap
- Plug heat range too cold
- Excessive idling/low speed running
- Clogged air cleaner element
- Deteriorated ignition coils





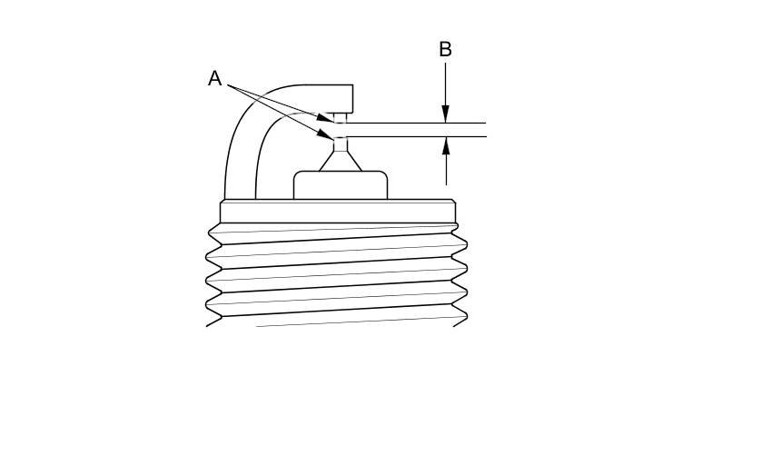
3. Replace the plug at the specified interval, or if the center electrode (A) is rounded, or if the spark plug gap (B) is out of specification, or if the spark plug electrode is dirty or contaminated. Use only the spark plugs listed.

NOTE:

- Do not adjust the gap of iridium tip plugs.
- Do not use a plug cleaner.

Spark Plugs USA model





Canada model





Electrode Gap










4. Install the spark plugs Service and Repair.