Trailer Lighting Module: Service and Repair
Trailer Lighting Control Unit Input Test/Replacement
1. Turn the ignition switch to LOCK (0).
2. Remove the left rear side trim panel Interior Trim Removal/Installation - Rear Side Area.
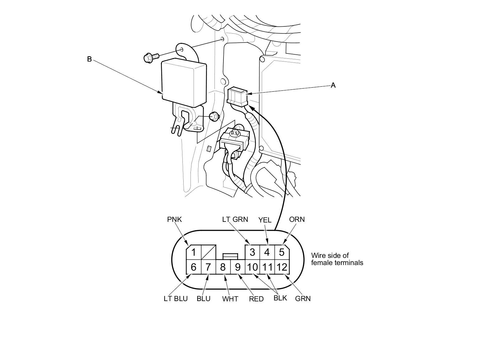
3. Disconnect the 12P connector (A) from the trailer lighting control unit (B).
4. Inspect the connector and socket terminals to be sure they are all making good contact.
- If the terminals are bent, loose, or corroded, repair them as necessary, and the system.
- If the terminals look OK, go to step 5.
5. With the connectors still disconnected, do the following input tests.
- If any test indicates a problem, find and correct the cause, then recheck the system.
- If the input tests prove OK, go to step 6.
6. Reconnect the connectors, do the following input tests.
- If any test indicates a problem, find and correct the cause, then recheck the system.
- If the input tests prove OK, replace the trailer lighting control unit.