Curiosii for ever!: Car repair manuals for everyone.

Radiator Support: Service and Repair





Front Bulkhead

Removal

Mass production body welding positions and numbers







Construction

NOTE: This information explains the procedures after removal of all related parts. For the related parts' removal procedure, refer to the appropriate Service Procedures.

- When removing the front bulkhead, leave the bulkhead side member in place.
- Replace the bulkhead upper center frame, the upper side frame, and the bulkhead side stay as an assembly.







Installation







1. Set the new bulkhead parts, and measure the front compartment diagnonally.
2. Check the body dimensions.
- Engine compartment
- Bulkhead side member position
- Engine compartment and front floor under view
- Repair chart, top view
- Repair chart, side view

3. Tack weld the new parts into position.
4. Temporarily install the front fender, the hood, and the door, then check for differences in level and clearance. Check the external parts fitting position.If necessary, check the headlight and the front bumper positions. Make sure the body lines flow smoothly.
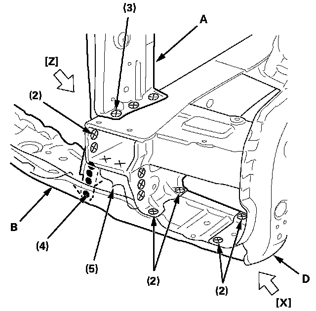
5. Do the main welding. Weld the bulkhead side stay (A) and the lower cross-member (B) to the front side frame (C) and the bulkhead side member (D).









6. Weld the bulkhead upper side frame (A) and the damper housing extension (B).