Curiosii for ever!: Car repair manuals for everyone.

Cool Box Control Switch Replacement (With Climate Control)




Cool Box Control Switch Replacement

1. Remove the center lower console Dashboard Center Lower Console Removal/Installation.

2. Remove the cool box control switch (A) from the center console, then disconnect the connector (B).






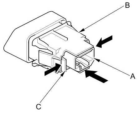
3. Push the cool box control switch (A) from the holder (B) by pushing the tabs (C).






4. While pushing the tabs (A) with a flat-tip screwdriver, and remove the holder (B) from the cool box control switch.





5. Remove the bulbs (C).

6. Install the cool box control switch in the reverse order of removal.