Curiosii for ever!: Car repair manuals for everyone.

Traction Control Module: Service and Repair




VSA Modulator-Control Unit Removal and Installation

NOTICE
Do not spill brake fluid on the vehicle; it may damage the paint. If brake fluid gets on the paint, wash it off immediately with water.

NOTE:

- Be careful not to damage or deform the brake lines during removal and installation.
- To prevent the brake fluid from dripping, plug and cover the hose ends and joints with a shop towel.

Removal

1. Turn the ignition switch to LOCK (0).

2. Remove the air cleaner Service and Repair.

3. Disconnect the 10 mm brake lines (A) and the 12 mm brake lines (B) from the VSA modulator-control unit (C).






4. Disconnect the VSA modulator-control unit 32P connector (A) by pushing the lock (B) and pulling up the lever (C); the connector disconnects itself.






5. Remove the VSA modulator-control unit bracket mounting bolts (A), then remove the VSA modulator-control unit (B) with the bracket (C) from the body.






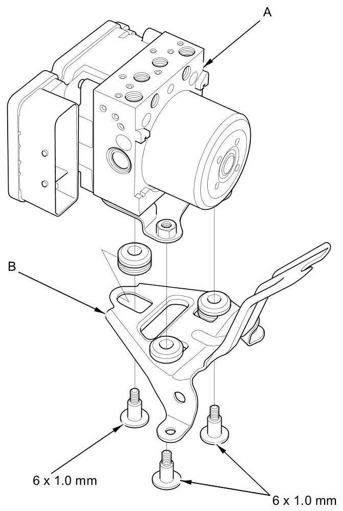
6. Remove the VSA modulator-control unit (A) from the bracket (B).






Installation

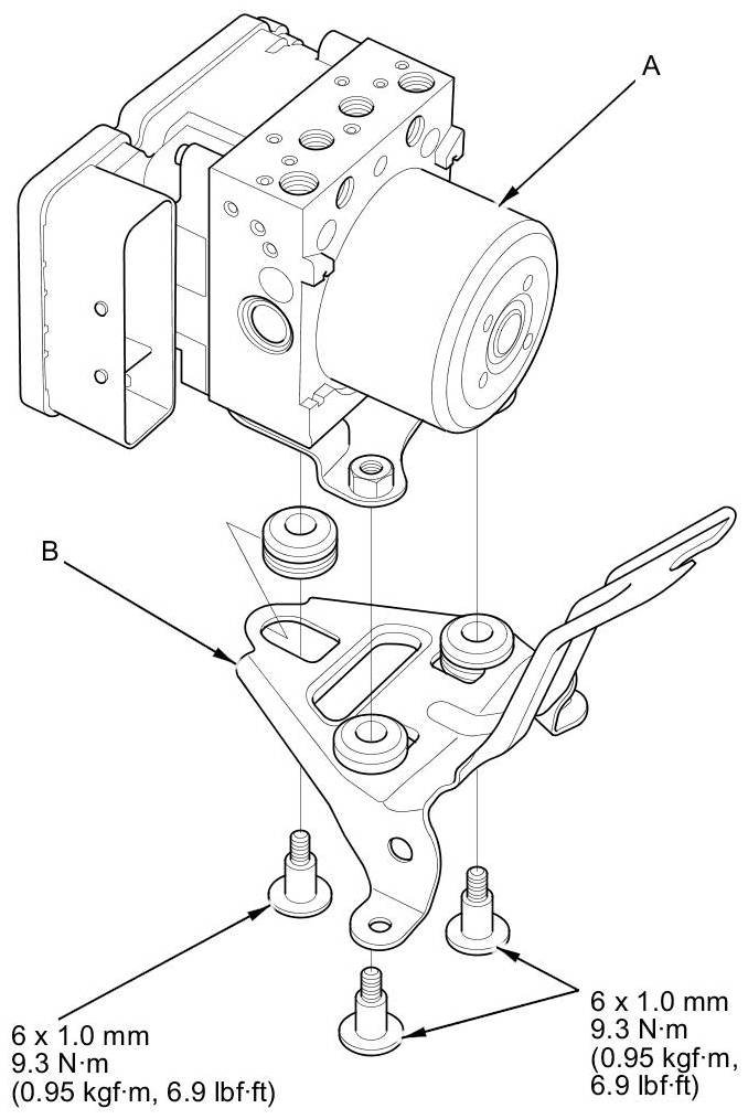
1. Install the VSA modulator-control unit (A) onto the bracket (B).






2. Install the VSA modulator-control unit (A) with the bracket (B) to the body, then install the VSA modulator-control unit bracket mounting bolts (C).






3. Align the connecting surface of the VSA modulator-control unit 32P connector (A) to the VSA modulator-control unit.





4. Pull down the lever (B) of the VSA modulator-control unit 32P connector, then confirm the connector is fully seated.

5. Connect the 10 mm brake lines and the 12 mm brake lines to the VSA modulator-control unit (A).

NOTE: The brake lines are connected to the master cylinder (B), the left-rear (C), the right-front (D), the left-front (E), and the right-rear (F) brake systems.






6. Install the air cleaner Service and Repair.

7. Bleed the brake system Service and Repair.

8. Do the VSA modulator-control unit update Testing and Inspection.

9. Do the VSA sensor neutral position memorization procedure Programming and Relearning.