Curiosii for ever!: Car repair manuals for everyone.

Control Unit: Service and Repair






Real Time AWD Control Unit Removal and Installation

Removal

1. Tonneau Cover (For Some Models)





1. Remove the tonneau cover (A).

2. Cargo Floor Cover





1. Remove the cargo floor cover (A).

3. Left Rear Door Sill Trim





1. Fold down the left rear seat, then lift-up and latch the left rear seat back in the up right position.

2. Detach the hooks (A) and the tab (B) from the left B-pillar lower trim (C) and the left rear side trim panel (D), and pull up the rear door inner sill trim (E) by hand to detach the clips (F, G), then remove the trim.

4. Rear Door Opening Seal As Needed





1. Pull out the rear door opening seal (A) from the trim hooks (B) around the rear door opening flange as needed.

5. Left Rear Damper Maintenance Cover





1. Fold down the left rear seat back.

2. Pull up the rear damper maintenance cover (A) by hand to detach the hooks (B), then remove the rear damper maintenance cover.

6. Left Rear Carpet Trim









1. Detach the clips (A), then detach the left rear seat-back cover (B).

2. Detach the hooks (C) from the left rear side trim panel (D), and pull up the left rear carpet trims (E) by hand to detach the clips, then remove the left rear carpet trim.

7. Tailgate Weatherstrip As Needed





1. Detach the tailgate weatherstrip (A) as needed.

8. Rear Trim Panel





1. Remove the clips (A).

2. Detach the hooks (B) and the tabs (C) from the rear side trim panels (D), and pull up the rear trim panel (E) by hand to detach the clips (F, G), then remove the rear trim panel.

9. Left Rear Side Trim Panel





1. Remove the rear seat release lever cap (A), then remove the screws.





2. Push in on the center pin (A), then remove the trunk hook (B).





3. Remove the bolt, then remove the tie-down hook (A).





4. Remove the clips (A, B).

5. Detach the hooks (C) and the tabs (D) from the quarter pillar trim (E), and pull out the left rear side trim panel (F) by hand to detach the clips (G, H).

6. Carefully move the left rear side trim panel aside.

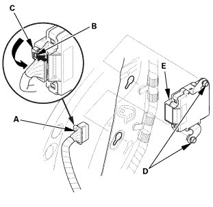
10. Real Time AWD Control Unit





1. Disconnect the connector (A) by pushing the lock (B) and Pull down the lever (C); the connector disconnects itself.

2. Loosen the real time AWD control unit mounting bolts (D), then remove the real time AWD control unit (E).

Installation

1. Real Time AWD Control Unit





1. Install the real time AWD control unit (A).

2. Align the connecting surface of the connector (B).

3. pulling up the lever (C) of the connector, then confirm the connector is fully seated.

2. Left Rear Side Trim Panel





1. Install the left rear side trim panel (A). Make sure the hooks (B), the tabs (C), and the clips (D, E) snap into place securely.

2. Install the clips (F, G).





3. Install the tie-down hook (A).





4. Install the trunk hook (A).





5. Install the screws, then install the left rear seat release lever cap (A).

3. Rear Trim Panel





1. Install the rear trim panel (A). Make sure the clips (B, C), the hooks (D), and the tabs (E) snap into place securely.

2. Install the clips (F).

4. Tailgate Weatherstrip As Needed





1. Locate the alignment mark (A) of the tailgate weatherstrip (B). Align the alignment mark with the center of the lower area on the tailgate opening, then install the tailgate weatherstrip all the way around.

5. Left Rear Carpet Trim









1. Install the left rear carpet trim (A). Make sure the clips and the hooks (B) snap into place securely.

2. Install the rear seat-back cover (C). Make sure the clips (D) snap into place securely.

6. Left Rear Damper Maintenance Cover





1. Install the rear damper maintenance cover (A). Make sure the hooks (B) snap into place securely.

7. Rear Door Opening Seal As Needed





1. Install the rear door opening seal (A). Make sure the seal is installed securely into the hooks (B).

8. Left Rear Door Sill Trim





1. Lift up and latch the left rear seat back in the up right position.

2. Install the left rear door inner sill trim (A). Make sure the clips (B, C), the hooks (D), and the tab (E) snap into place securely.

9. Cargo Floor Cover





1. Install the cargo floor cover (A).

10. Tonneau Cover (For Some Models)





1. Install the tonneau cover (A).

11. HDS DLC - Connection





1. Connect the HDS to the data link connector (DLC) (A) located under the driver's side of the dashboard.

2. Turn the ignition switch to ON (II).

3. Make sure the HDS communicates with the vehicle. If it does not communicate, go to the DLC circuit troubleshooting.

12. Real Time AWD Control Unit Initialization

1. Select the ADJUSTMENT in the REAL TIME AWD SYSTEM with the HDS.

2. Select the ECU REPLACEMENT in the ADJUSTMENT with the HDS.

NOTE: See the HDS Help menu for specific instructions.