Curiosii for ever!: Car repair manuals for everyone.

Power Distribution Relay: Testing and Inspection






Power Relay Test









Test

1. Power Relay - Test

Use this chart to identify the types of the relay, then do the test listed for it.

NOTE: Do not use pliers to remove a relay. Pliers will damage the relay.



















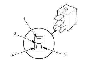
Normally-Open Four-Terminal Type

Check for continuity between the terminals:
* There should be continuity between terminals No. 1 and No. 2 when battery power is connected to terminal No. 3, and battery ground is connected to terminal No. 4.
* There should be no continuity between terminals No. 1 and No. 2 when battery power is disconnected.









Five-Terminal Type

Check for continuity between the terminals:
* There should be continuity between terminals No. 1 and No. 2 when battery power is connected to terminal No. 3, and battery ground is connected to terminal No. 5.
* There should be continuity between terminals No. 1 and No. 4 when battery power is disconnected.