Curiosii for ever!: Car repair manuals for everyone.

Power Distribution Module: Testing and Inspection






Relay Control Module Removal, Installation, and Test

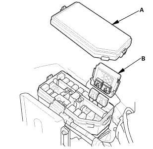
Removal

1. Relay Control Module





1. Remove the cover (A).

2. Remove the relay control module (B) from the under-hood fuse/relay box.

3. Disconnect the relay control module connectors.

Test

1. Relay Control Module - Test











The relay control module is part of the under-hood fuse/relay box, and contains these relays:
* Left headlight low beam relay

* Right headlight low beam relay

* Taillight relay

* Windshield wiper motor relay

* Windshield wiper intermittent relay

* Windshield wiper high/low relay

1. Test each relay circuit as shown.

2. If any of these relay circuit fails the test, replace the relay control module.





Left Headlight Low Beam Relay

There should be battery voltage at terminal B9 when battery power is connected to terminals B8, and body ground is connected to terminal B6. There should be no voltage at terminal B9 when power is disconnected.





Right Headlight Low Beam Relay

There should be battery voltage at terminal B2 when battery power is connected to terminals B7, and body ground is connected to terminal B6. There should be no voltage at terminal B2 when power is disconnected.





Taillight Relay

There should be battery voltage at terminal A2 when battery power is connected to terminal A8, and body ground is connected to terminal A1. There should be no voltage at terminal A2 when terminal A1 is disconnected.





Windshield Wiper Motor Relay

There should be continuity between terminals A16 and A3, and terminals A16 and A6 when battery power is connected to terminal A9, and body ground is connected to terminal B1. There should be no continuity between terminals A16 and A3, and terminals A16 and A6 when power is disconnected.





Windshield Wiper Intermittent Relay

There should be battery voltage at terminal A12 when battery power is connected to terminals A16 and A9, and body ground is connected to terminals B1 and A6. There should be no voltage at terminal A12 when terminal A6 is disconnected.





Windshield Wiper High/Low Relay

There should be battery voltage at terminal A13 when battery power is connected to terminals A16 and A9, and body ground is connected to terminals B1, A3, and A6. There should be no voltage at terminal A13 when terminal A3 is disconnected.

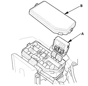
Installation

1. Relay Control Module





1. Connect the relay control module connectors.

2. Install the relay control module (A) to the under-hood fuse/relay box.

3. Install the cover (B).