Curiosii for ever!: Car repair manuals for everyone.

Back Power Window Switch Test/Replacement




Back Power Window Switch Test/Replacement

1. Remove the driver's door panel Service and Repair.

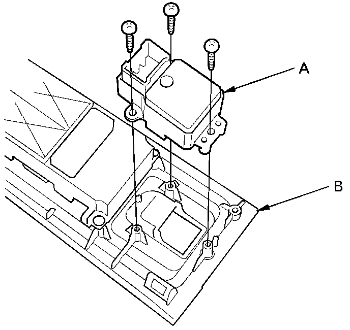
2. Remove the three mounting screws, then remove the back power window switch (A) from the switch panel (B).





3. Swap the back power window switch with another known-good rear window switch and test. If the original back power window switch is faulty; replace it.

4. Install the switch in the reverse order of removal.

5. Reset the power window control unit Testing and Inspection.